Back to Home Page of CD3WD Project or Back to list of CD3WD Publications

PÁGINA PRECEDENTE INDICE PÁGINA SIGUIENTE


Capítulo 4: Empaque y materiales de empaque


Prácticas de empacado
Recipientes de empacado
Etiquetado
Empaques MUM
Empaquetado con atmósfera modificada (A.M.)
Unidades de carga

Si el producto se va a empacar para facilitar su manejo, es preferible usar cajas resistentes de cartón encerado o recipientes plásticos que sacos o canastas abiertas; pues la mayoría de éstas no proporcionan protección alguna al producto cuando se apilan. A veces, los recipientes construidos localmente se pueden reforzar o forrar para proporcionar una protección adicional a los productos.

Las cajas de cartón encerado y los recipientes plásticos, aunque son más caros, se pueden reutilizar varias veces y pueden resistir las altas humedades relativas de los almacenes. Para un mejor resultado el producto dentro de los recipientes no deberá quedar ni demasiado suelto ni muy apretado. Las tiras de papel periódico son un relleno barato y ligero para los recipientes destinados al transporte (Harvey et al, 1990).

Los gestores a pequeña escala interesados en construir sus propias cajas de cartón corrugado, pueden dirigirse para una información más detallada a Broustead y New (1986). Diversas fibras vegetales se pueden usar para elaborar papel (Hunsigi, 1989); los gestores pueden considerar ésto económicamente interesante e incluir estas operaciones en sus sistemas postcosecha.

A lo largo de todo el sistema de manejo, el empaque puede ser tanto una ayuda como un obstáculo para obtener la máxima calidad y vida de almacenamiento. Los empaques necesitan ventilación y además tienen que ser lo suficientemente fuertes para evitar compresiones. Los empaques deformados por compresión proveen poca o ninguna protección transmitiendo a la mercancía interior todo el peso del apilado. Para cajas destinadas al comercio internacional se usa cartón corrugado con una resistencia mínimo de 275 lbs/pulgada2 a la presión.

El empaque es un medio para proteger la mercancía, manteniéndola inmóvil y a la vez proporcionándole amortiguamiento. Sin embargo, el manejo de la temperatura puede ser ineficiente si los materiales de relleno bloquean las aberturas de ventilación. Los materiales de relleno del empaque actúan como barreras de vapor y por ello pueden contribuír a mantener humedades relativas más altas dentro del recipiente. Además de la protección, el empaque facilita el manejo a lo largo del sistema postcosecha y puede minimizar los efectos de una manipulación tosca

El empaque con películas plásticas modifica la atmósfera que circunda al producto (este es conocido como empaque en atmósfera modificada), restringe el movimiento de aire, y permite con ello que la respiración del producto reduzca el contenido de oxígeno e incremente el de dióxido de carbono dentro del empaque. Además, un beneficio importante derivado del uso de películas plásticas, es la reducción de la pérdida de agua.

Las atmósferas modificadas pueden usarse dentro de un empaque para el transporte o dentro de unidades de tamaño adecuado para venta directa al consumidor. La modificación atmosférica puede ser generada activamente introduciendo un vacío ligero en un empaque sellado con vapor (por ejemplo una bolsa de polietileno sin perforaciones), y a continuación reemplazando la atmósfera interna con la mezcla de gas deseada. En general, la reducción de la concentración de oxígeno y/o la elevación de dióxido de carbono resultarán benéficas (ver la tabla de mezclas de gases recomendadas para diversos productos, capítulo 7). La elección del mejor polímero plástico para una determinada combinación de mercancía/tamaño de envase depende de la permeabilidad de la película y de la tasa de respiración de la mercancía, bajo condiciones específicas de tiempo y temperatura durante el manejo. Los absorbentes de oxígeno, dióxido de carbono y/o etileno se pueden usar dentro del empaque o recipiente para ayudar a mantener la composición atmosférica óptima. El envase en atmósfera modificada deberá siempre considerarse como un suplemento al manejo adecuado de temperatura y humedad relativa. Las diferencias entre efectos nocivos y benéficos en el producto son relativamente pequeñas, por lo que se debe poner especial atención cuando se usen estas tecnologías (Kader, 1992).

Prácticas de empacado

La mesa de empacado ilustrada a continuación puede unirse a una segunda mesa de la misma construcción, si se requiere más espacio para el empaque de los productos. Cuando el ajuste sea necesario, añada una tabla suelta, lo suficientemente gruesa para rebasar la de la baranda frontal. La baranda frontal deberé ser lisa y redondeada.

Fuente: Grierson, W. 1987. Postharvest Handling Manual: Commercialization of Alternative Crops Project. Belize Agribusiness Co. / Chemonics International Consulting Division / USAID

Una cobertizo sencillo para el empacado en campo, se puede construir con postes (u horcones) de madera y una cubierta de polietileno. Un sobretecho de paja proporcionará sombra y ayudará a mantener fresco el cobertizo. La estructura deberá orientarse de forma que el alero del tejado rechace la mayoría de los rayos solares.

Fuente: Grierson, W. 1987. Postharvest Handling Manual: Commercialization of Alternative Crops Project. Belize Agribusiness Co. / Chemonics International Consulting Division / USAID

Los racimos de bananas son en primer lugar lavados para eliminar el látex y a veces, tratados con fungicidas. Después se empacan normalmente en recipientes de cartón corrugado forrados con polietileno. Las ilustraciones siguientes representan un método de llenado de un recipiente con la fruta a fin de asegurar el menor daño posible durante su transporte. Es importante notar cómo el forro de polietileno se pliega por encima de las bananas antes de cerrar la caja.

Mano ancha y plana de tamaño pequeño a mediano en el centro de la caja.

Mano ancha de longitud media colocada sobre la primera, la corona no toca la fruta de abajo.

Mano ancha de longitud pequeña a mediana, la corona no toca la fruta de abajo.

Un mano larga o bien dos "clusters" de dedos largos.

Fuente: FAO. 1989. Prevention of Postharvest Food Losses: Fruits, Vegetables and Root Crops. A Training Manual. Rome: UNFAO. 157 pp.

Una mesa circular rotatoria puede usarse para empacar una gran variedad de cosechas. El producto es alimentado a lo largo de un transportador, o simplemente se coloca encima de la mesa, donde los operarios lo seleccionan y llenan las cajas en sus estaciones de trabajo. En la siguiente ilustración, una banda para el desecho ha sido añadida por debajo de la banda de abastecimiento, permitiendo una fácil eliminación del material de desecho. Cada operario puede trabajar independientemente, organizándose como necesite y ocasionalmente, puede además verificar el peso de las cajas.

Fuente: National Institute of Agricultural Engineering. 1979. Preparing vegetables for supermarkets. Field Vegetable Department, Silsoe, Bedford: NIAE

El uso de separadores de cartón en el interior de las cajas aumentará su resistencia al apilado. El uso de separadores es común con productos pesados, como los melones. La colocación de triángulos de madera o cartón en las cuatro esquinas es especialmente útil cuando la caja necesita refuerzo.

Separador de cartón

Soportes triangulares en las esquinas

Fuente: McGregor, B. 1989. Tropical Products Transport Handbook. USDA, Office of Transportation, Agricultural Handbook Number 668.

A veces, los recipientes fabricados localmente pueden tener bordes toscos o superficies interiores ásperas. En este caso, puede usarse un forro barato y sencillo hecho de cartón, para proteger al producto contra daños durante el manejo.

Forro de cartón para una caja (huacal) de palma

Fuente: Blond, R.D. 1984. The Agricultural Development Systems Project in Egypt (1979-83), USAID / Ministry of Agriculture, Egypt / University of California, Davis.

Si se usan grandes canastas o sacos para el empacado a granel de frutas u hortalizas, el uso de un ventilete sencillo puede ayudar a reducir la acumulación progresiva de calor debido a la respiración del producto. En la siguiente ilustración, un tubo tejido de bambú (de un metro longitud) se usa para ventilar un saco grande de chile.

Las mangas de papel o plástico son un material de envoltura útil para proteger las flores de daños durante el manejo y el transporte. En la ilustración, el empacador tira de una manga hacia arriba y la coloca sobre un ramo de flores, antes de empacar las en una caja de cartón. Las mangas proporcionan protección y a la vez, mantienen los manojos de flores separados dentro de la caja.

Fuente: Reid, M.S. 1992. En: Kader, A.A. (Ed.) Postharvest Technology of Horticultural Crops. University of California, Division of Agriculture and Natural Resources, Publication 3311.

Recipientes de empacado

Los sacos se usan frecuentemente para empacar la producción dado que son baratos y se les encuentra facilmente. La siguiente tabla proporciona alguna información relativa a las características de diferentes tipos de materiales utilizados para fabricación de sacos.

Características de los sacos de empacado

Tipo de saco

Resistencia a las roturas y desgarros

Resistencia al impacto

Protección contra:

Contaminación

Observaciones

Absorción de humedad

Invasión de insectos

Cáñamo

Buena

Buena

Ninguna

Ninguna

Poca, también causen contaminación las fibras del saco

Deterioro medio ambiente. Alojan insectos. Retienen olores.

Algodón

Regular

Regular

Ninguna

Ninguna

Regular

Alto valor de reutilización

Tejido de plástico

Regular-Buena

Buena

Ninguna

Alguna protección (si la malla es apretada)

Regular

Afectado por rayos UV. Difícil de coser

Papel

Poca

Regular-Poca

Buena - Los sacos WFP de paredes múltiples tienen un forro o camisa plástica

Alguna protección, mejora si son tratados

Buena

Calidad consistente. Bueno para el estampado

Fuente: Walker, D.J. (Ed) 1992. World Food Programme Food Storage Manual. Chatham, UK: Natural Resources Institute.

Cuando se manipula un producto que ha de ser empacado, diversos daños mecánicos pueden ocurrir. La tabla a continuación proporciona ejemplos de los daños mecánicos típicos más comunes y sus efectos en los recipientes de empaque.

Tipo de daño

Tipo de Recipiente

Resultado

Factores de Importancia

Daño por impacto en la caída

Sacos-tejidos y de papel

Aberturas por las juntas y roturas del material que causan fugas y perdidas por vaciado

Juntas resistentes

Cajas de cartón corrugado

Separación de juntas, abertura de tapaderas. Distorsión de la forma perdiendo la capacidad de apilado

Juntas resistentes
Método de cierre

Cajas de madera

Fractura de juntas, pérdida de su función de contener

Cierres, resistencia de la madera

Envases metálicos y barriles

Melladuras, daños de bordes. La separación de juntas y cierre causa pérdidas y deterioro del contenido


Envases de plástico

Roturas y desgarros que causan pérdidas de contenido

Material de calidad.
Grosor de pared

Daño por compresión debido a exceso de altura en el apilado

Cajas de cartón corrugado

Distorsión de la forma, la separación de juntas causa pérdidas y rotura de cartones interiores, bolsas y envolturas

Resistencia de la caja a la compresión

Envases de plástico

Distorsión, colapso y, a veces, separación de juntas causan pérdidas del contenido

Diseño del material.
Grosor de pared

Vibración

Sacos tejidos

Tamizado del contenido

Apretado de la malla

Cajas de cartón corrugado

Si se comprimen pierden sus cualidades de amortiguamiento.
Contenido más propenso a daños por impacto

Resistencia a la compresión de la caja

Roturas, desgarros

Sacos-tejidos y de papel

Pérdida de las funciones de contener-verter (peor con sacos de papel)

Resistencia a la rotura

Latas metálicas

Pinchazos, pérdida de contenido

Grosor del metal

Fuente: Walker, D.J. (Ed.) 1992. World Food Programme Food Storage Manual. Chatham, UK: Natural Resources Institute

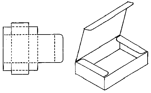
Los siguientes diagramas son válidos para una gran variedad de empaques de cartón que se usan comúnmente. Las dimensiones finales pueden ser alteradas para adaparse a las necesidades del gestor.

Caja telescópica total

Caja telescópica parcial

Caja cubierta de un pieza plegada

Fuente: McGregor, B. 1987. Tropical Products Transport Handbook. USDA, Office of Transportation, Agricultural Handbook Number 668.

Los siguientes diagramas son válidos para una gran variedad de empaques de cartón que se usan comúnmente. Las dimensiones finales pueden ser alteradas para adaparse a las necesidades del gestor.

Caja de cierre propio

Caja de cerrado adyacente

Fuente: McGregor, B 1987. Tropical Products Transport Handbook. USDA, Office of Transportation, Agricultural Handbook Number 668.

Existen muchos tipos de recipientes de empaque. Los cuatro diseños ilustrados a continuación se construyen con cartón corrugado. El recipiente estándar es totalmente plegable y es el más económico.

Las cajas telescópicas (parcial o total) tienen la más alta resistencia al apilado y evitan el combado pero son las más costosas.

El recipiente conocido como caja estilo Bliss tiene esquinas muy fuertes, pero no es plegable.

Fuente: Peleg, K 1985. Produce Handling, Packaging and Distribution. Westport, Connecticut: AVI Publishing Co, Inc.

Los diagramas que se presentan a continuación muestran una variedad de recipientes de cartón corrugado comúnmente usados. Las dimensiones pueden modificarse, para adaptarse a las necesidades del gestor.

Caja de una pieza

Caja de dos piezas con tapadera

Caja estilo Bliss

Fuentes: McGregor, B. 1989. Tropical Products Transport Handbook. USDA, Office of Transportation, Agricultural Handbook Number 668. (Tomado de la versión del libro en español de 1987).
Fibre Box Association. 1984. Chicago, IL: FBA 105 pp.

Los recipientes de transporte pueden ser diseñados y fabricados por el usuario, de cualquier tamaño y forma deseados. Existen tres tipos de juntas que se usan normalmente para construir cajas resistentes.

Juntas reforzadas con cinta

Juntas engomadas

Juntas engrapadas

Fuente: Peleg, K. 1985. Produce Handling, Packaging and Distribution. Westport, Connecticut: AVI Publishing Co., Inc.

Los recipientes pueden construirse con madera y alambre, usando los diagramas generales que se muestran a continuación. Estos recipientes también pueden comprarse, por ejemplo USA - Package Research Laboratory (41 Pine Street, Rockaway, New Jersey 07866) puede suministrarle una relación de proveedores.

Terminaciones laterales y cuerpo

Fuente: Peleg, K. 1985. Produce Handling, Packaging and Distribution. Westport, Conn.: AVI Publishing Co, Inc.

Una caja de madera tipo "lug" es el recipiente típico para el empacado de uvas de mesa. Este recipiente es muy fuerte y mantiene su resistencia al apilado incluso si está sometido durante mucho tiempo a una alta humedad relativa.

Frecuentemente, un forro de papel se pliega sobre las uvas antes de clavar la tapa. El forro protege al producto del polvo y de la condensación de agua. Si se desea, una almohadilla que contenga dióxido de azufre puede incluirse dentro de la caja como tratamiento para el control de la pudriciones. La mayoría de las mercancías agrícolas, a excepción de las uvas de mesa, pueden dañarse (decolorarse) por tratamientos de dióxido de azufre.

Los recipientes para las flores son frecuentemente largos y estrechos, de diseño telescópico total, con aberturas para la ventilación en ambos extremos. El área total de las aberturas deberá ser 5% del área total de la caja. Si el transporte de las cajas se demora o se les almacena en un ambiente de temperatura no controlada, un ala abatible de cierre opcional ayuda a mantener temperaturas frías.

Fuente: Rij, R et al. 1979. Handling, precooling and temperature management of cut flower crops for truck transportation. USDA Science and Education Administration, AAT-W-5, Leaflet 21058

Los sacos de paño o papel pueden cerrarse fácilmente usando un alambre fuerte y un instrumento de entrelazado.

Fuente: FAO. 1985. Prevention of Post-Harvest Food Losses: A Training Manual. Rome: UNFAO. 120pp.

Una bandeja sencilla de madera con esquinas levantadas puede apilarse y permite una abundante ventilación para cosechas delicadas, como los tomates maduros.

Fuente: FAO. 1985. Prevention of Post-Harvest Food Losses: A Training Manual. Rome: UNFAO. 120pp.

Etiquetado

El etiquetado del producto ayuda al gestor a mantener el seguimiento de la mercancía cuando se traslada por los sistemas de postcosecha, y asistie a los mayoristas y minoristas en la utilización de prácticas adecuadas. Las etiquetas pueden estar pre-impresas en cajas de cartón, o pegadas, estampadas o pintadas en los empaques. El etiquetado de marca puede ayudar a la publicidad del producto, empacador y/o transportista. Algunos transportistas también proporcionan folletos detallando los métodos de conservación o recetas para los consumidores.

Las etiquetas de transporte deben exhibir en parte o en su totalidad esta información:

Nombre común del producto
Perso neto, número y/o volumen
Nombre de la compañía
Nombre y dirección del empacador o transportista
País o región de origen
Tamaño y categoría
Temperatura de almacenamiento recomendada
Instrucciones especiales de manejo
Nombre de insecticidas legales si se han utilizado en el empacado

El etiquetado de los empaques de tamaño adecuado para el consumidor es obligatorio según normas de la FDA. Las etiquetas deben exhibir el nombre del producto, peso neto y nombre y dirección del productor, empacador o distribuidor.

Fuente: McGregor, B 1989. Tropical Products Transport Handbook. USDA, Office of Transportation, Agricultural Handbook Number 668

Empaques MUM

Cuando diversas cajas de tamaños diferentes se empaquetan, la unidad resultante (embalaje, carga unitizada o carga unitarizada) es poco eficiente. El uso de cajas de tamaño estándar facilita el manejo en gran medida pues cuando se manejan unidades las pilas pueden ser inestables o las cajas más pesadas pueden aplastar a las más ligeras. Una carga inestable es probable que caiga durante el transporte o el almacenamiento.

Los tamaños de recipientes recomendados se muestran a continuación. Estos recipientes son parte del programa MUM ("Modularization", "Unitization" y "Metrication") recomendado por el USDA (United States Department of Agriculture). Pueden ser apilados en una variedad de patrones, dependiendo del tamaño, formando siempre una carga estable sobre una tarima única de 1000 x 1200 mm (40 x 48 pulgadas).

Contenedores MUM para diversas cosechas:

 

Dimensiones exteriores

Numero por capa

Utilización de la tarima

(Pulgadas)

(%)

MM

 

 

 

600 x 500

(23.62 x 19.69)

4

100

500 x 400

(19.68 x 15.75)

6

100

600 x 400

(23.62 x 15.75)

5

100

500 x 333

(19.68 x 13.11)

7

97

600 x 333

(23.62 x 13.11)

6

99

500 x 300

(19.68 x 11.81)

8

100

475 x 250

(18.70 x 9.84)

10

99

400 x 300

(15.75 x 11.81)

10

100

433 x 333

(17.01 x 13.11)

8

96

400 x 250

(15.74 x 9.84)

12

100

Ejemplo de carga en tarima de recipientes MUM

Fuente: Ashby, B H. et al 1987. Protecting Perishable Foods During Transport by Truck. Washington, D.C.: USDA, Office of Transportation, Agricultural Handbook No. 669.

Las ilustraciones siguientes muestran el arreglo de una serie de recipientes MUM sobre una tarima ("pallet") estándar (1000 x 1200 mm). El uso de los empaques MUM puede ahorrar espacio durante el transporte y almacenamiento, dado que la utilización de la tarima es cercana al 100%.

Dimensiones exteriores
600 x 500 mm (23.62 x 19.69")
Utilización de la tarima: 100%

Dimensiones exteriores
500 x 400 mm (19.68 x 15.75")
Utilización de la tarima: 100%

Dimensiones exteriores
600 x 400 mm (23.62 x 15.75")
Utilización de la tarima: 100%

Dimensiones exteriores
500 x 333 mm (19.68 x 13.11")
Utilización de la tarima: 97%

Dimensiones exteriores
600 x 333 mm (23.62 x 13.11")
Utilización de la tarima: 99%

Dimensiones exteriores
500 x 300 mm (19.68 x 11.81")
Utilización de la tarima: 100%

Dimensiones exteriores
475 x 250 mm (18.62 x 9.84")
Utilización de la tarima: 99%

Dimensiones exteriores
400 x 300 mm (15.75 x 11.81")
Utilización de la tarima: 100%

Dimensiones exteriores
433 x 333 mm (17.01 x 13.11")
435 x 330 mm (17.12 x 12.99")
Utilización de la tarima: 96%

Dimensiones exteriores
400 x 250 mm (15.75 x 9.84")
Utilización de la tarima: 100%

Dimensiones exteriores
400 x 333 mm (15.75 x 13.11")
Utilización de la tarima: 99%

 

Fuente: McGregor, B 1989. Tropical Products Transport Handbook. USDA, Office of Transportation, Agricultural Handbook Number 668. (Tomado de la versión del libro en español de 1987).

Empaquetado con atmósfera modificada (A.M.)

Una carga entarimada (unitarizada, "palletizada") de producto, por ejemplo fresas, puede sellarse, dentro de una bolsa de polietileno 5 mil (5 milipulgadas lineales de espesor), sobre una lámina plástica a la base de la tarima. Entonces se hace un ligero vacío y se introduce CO2 con una pequeña manguera hasta alcanzar una concentración del 15%.

Unidades de carga

Muchos transportistas y comerciantes prefieren manejar unidades de carga de producto en tarimas más que el manejo de envases individuales de transporte. El cambio a unidades de carga ha reducido la manipulación, causa menos daños a los envases y al producto, y permite una carga/descarga más rápida de los vehículos de transporte.

Si los gestores a pequeña escala desean usar unidades de carga para el transporte de la producción, tanto tarimas de madera como hojas correderas pueden servir como base de carga. El uso de guías para el alineamiento de las cajas (tales como la colocación de la tarima a ser cargada contra la esquina de una habitación, o construcción de un conjunto de 'paneles falsos" si la tarima es cargada afuera) estabilizarán la carga. El uso de envases de cartón, plástico o madera con pestañas de cerradura adyacente puede también ayudar a mejorar la estabilidad de la carga. Los envases deben tener agujeros para la ventilación que estén alineados cuando estén apilados en escuadra en la parte superior de cada uno. Puede utilizarse pegamento entre capas de envases para reducir el deslizado, y una malla plástica o bandas metálicas para asegurar la carga. Los paneles de esquina, hechos de cartón, plástico o metal, proporcionarán una unidad de carga estable.

Flejado y paneles de esquina en una unidad de carga

Fuentes: McGregor, B.M. 1989 Tropical Products Transport Handbook. USDA, Office of Transportation, Agricultural Handbook Number 668.

Ashby, B.H. et al., 1987. Protecting Perishable Foods During Transport by Truck. USDA, Office of Transportation, Agricultural Handbook Number 669.


PÁGINA PRECEDENTE INICÌO DE PÁGINA PÁGINA SIGUIENTE