Back to Home Page of CD3WD Project or Back to list of CD3WD Publications

PÁGINA PRECEDENTE INDICE PÁGINA SIGUIENTE


IV. - Planificación y técnicas de comunicación en salud


4.1. Ventajas de planificar nuestro trabajo de comunicación
4.2. Diseño de una estrategia de comunicación en salud
4.3. Técnicas educativas

Además del nivel de comunicación interpersonal se da la comunicación a nivel macro en el diseño de campañas de salud. Campañas regionales o nacionales y, por qué no comunales, de vacunación, despistaje, etc. son ejemplos de esto. También lo son el diseño de materiales de difusión y educativos, como folletos, manuales y afiches. Existe un interés generalizado entre el personal de salud en realizar estas actividades y productos. Muchas veces los programas y proyectos invierten en hacerlos pero de manera poco planificada.

4.1. Ventajas de planificar nuestro trabajo de comunicación

. Evitar errores costosos

(A veces con mucho esfuerzo los Programas preparan material de difusión, pero no cumplen su objetivo de comunicación y la población no entiende el mensaje)

. Mayor posibilidad de logro de objetivos

(Operativos y educativos de los Programas y en general del establecimiento sobre todo en el rubro de Actividades Preventivo-promocionales. La población con mayor información es más abierta a participar sobre todo cuando entiende claramente el beneficio concreto de determinada acción o práctica de salud)

. Mejorar resultados alcanzados

(Aumentar los niveles de participación de la población en actividades y acercarla al establecimiento, al comprender el mensaje y ver el beneficio participa más activamente)

. Posibilita delimitar elementos existentes

(Un diagnóstico inicial nos permite saber la información que maneja la población y aquello que desconoce o percibe de modo diferente para así incluir todos estos aspectos en la campaña y lograr ser más efectivo)

. Establecer prioridades en cuanto a mensajes

(Una vez que sabemos los vacíos de información en la población podemos saber cuál es el mensaje que prioritariamente debemos difundir todos)

. Proveer directivas claras

(Como responsable del Establecimiento de Salud podemos establecer junto con nuestro personal la información que daremos a la población. Decir qué se le dirá a la población y cómo se le dirá)

. Incluir información de base para medir logros posteriores

(Si sabemos que el 50% de las madres desconoce que el tratamiento de malaria es gratuito, podemos medir que después de nuestra campaña el 75%, ya estará enterada y podremos estar seguros de los logros)

¿ Cómo un adecuado enfoque de comunicación contribuye al éxito de una campaña de salud ?

Una buena campaña de comunicación en salud:

. Aumenta la conciencia sobre el tema tratado.
. Mejora las actitudes para propiciar cambios individuales y colectivos en la población.
. Incrementa o disminuye la demanda de un servicio o producto.
. Refuerza o extingue los conocimientos, actitudes y comportamientos en la población.

Sin embargo aún cuando una campaña haya sido bien planeada hay cosas que no pueden alcanzar por sí solas como:

. Compensar la falta de recursos o medios de subsistencia

(Se puede hablar de nutrición pero si es época de inundación y escasea el alimento es difícil que se pueda preparar una alimentación balanceada)

. Producir cambios en el comportamiento sin soporte de otros factores

(Las mujeres pueden estar motivadas en el control del crecimiento y desarrollo de sus niños pero si nunca reciben carnets de CREDE es más difícil que lo hagan)

. Ser igualmente efectivo en todos los temas y todos los mensajes

(Una campaña de nutrición puede impactar más que una campaña de vacunación en comunidades donde no, se tiene claro la importancia de la inmunización)

. Impactar con igual intensidad en todos los públicos

(Una campaña de Planificación familiar impacta más en mujeres en edad fértil que en mujeres en la tercera edad)

4.2. Diseño de una estrategia de comunicación en salud

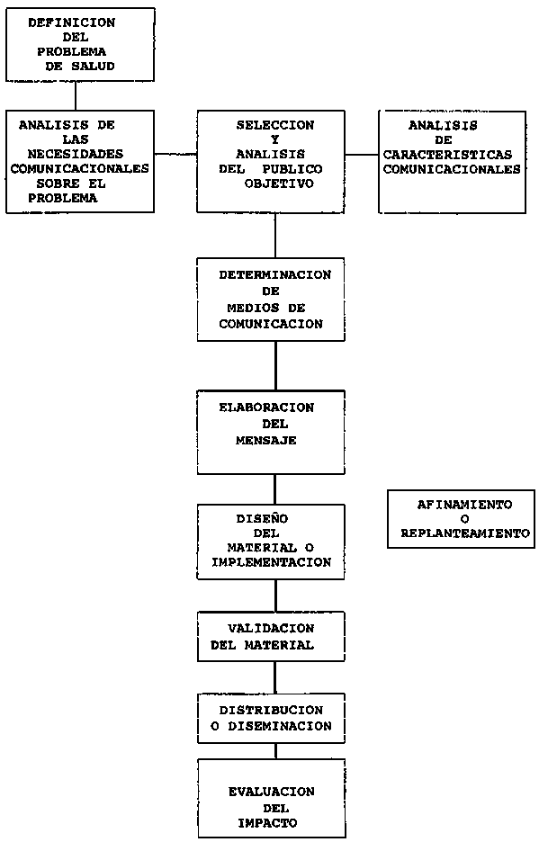
La mejor forma de planificar nuestro trabajo de comunicación es mediante la aplicación de una estrategia sencilla. Esta cuenta con varios pasos y cada uno de ellos está acompañado de preguntas guiadoras para poder aplicarla.

PREGUNTAS GUIADORAS PARA LA ELABORACION DE LA ESTRATEGIA DE COMUNICACION EN SALUD

1.- DETERMINACION DEL PROBLEMA DE SALUD

¿Cuál es el problema de salud ?
¿Cuáles son las causas principales?
¿Cuál de todas estas causas tienen una raíz de comunicación (falta de información o información que no es comunicada adecuadamente)?

2.- ANALISIS DE LAS NECESIDADES DE COMUNICACION

¿Qué es lo que la gente sabe del tema y qué es lo que la gente no sabe?
¿Qué es lo más importante que tiene que saber?

3- SELECCION Y ANALISIS DEL PUBLICO OBJETIVO

¿De todas las personas relacionadas al problema, quién es más importante que esté enterado?
¿Piensa mi público del tema?
¿Cómo percibe el tema?
¿Crée que es importante?
¿Qué creencias culturales tiene respecto al tema?
¿A quién admira mi público?
¿Qué expectativas tiene para el futuro?

4.- ANALISIS DE CARACTERISTICAS COMUNICACIONALES

¿Dónde se entera mi público sobre el tema?
¿En que espacios intercambia información de este tipo?
¿Qué medios masivos consume?
¿Por qué los consume?
¿Cómo los consume?
¿Cúando los consume?
¿Sabe leer?
¿Tiene costumbre de leer?
¿Qué tipo de lectura lée?

5.- DETERMINACION DE METAS DE COMUNICACION

¿Qué esperamos lograr con nuestras acciones de comunicación?
Es bueno que mis metas sean:

. Simples
. Medibles
. Alcanzables
. Realistas
. Temporalmente ubicadas

6.- ELABORACION DE MENSAJES

De todo lo que se puede decir sobre el tema, ¿Qué es lo INDISPENSABLE, lo más importante que debo comunicar?

Es bueno evitar poner demasiada información para no contundir al público objetivo. Es bueno recordar en esta etapa de elaboración incluir todo aquello que recogimos en los pasos anteriores de la estrategia. Aspectos sobre cómo percibe el público el tema, y los aspectos que lo motivan son fácilmente olvidados en el momento en que elaboramos el mensaje. Nuestras propias ideas y percepciones afloran y elaboramos un mensaje poco efectivo para el público al que va dirigido.

7.- DISEÑO DE MATERIALES O IMPLEMENTACION

De todos los medios que mi público usa para comunicarse (escritos, orales, etc.) escogemos uno y en él plasmo el mensaje.

8.- VALIDACION DEL MENSAJE O MATERIAL

Exponer nuestro mensaje al público objetivo (no a cualquiera) para ver si se ha logrado el objetivo de comunicación.

Averiguamos si el mensaje es comprendido, si el público se identifica como destinatario y si el mensaje es realizable realistamente. También vemos si es persuasivo o impositivo, atractivo en términos generales.

9.- DISTRIBUCION O DISEMINACION

Para distribuir los materiales o diseminar el mensaje es importante aprovechar la información que tenemos sobre los espacios de encuentro. Es decir dónde nuestro público socializa (información recopilada en el paso cuatro de la estrategia).

10.- EVALUACION DE IMPACTO

En esta etapa podemos hacer uso de técnicas como entrevistas a personajes representativos del grupo o los llamados grupos focal para verificar el impacto de nuestro mensaje. Hay que recordar que no debemos sentirnos frustrados si no hay cambios de hábito, percepciones, creencias, etc. La comunicación es un proceso y en la producción de materiales educativos en cada validación aprendemos algo más sobre nuestro público.

ALGUNAS LECCIONES APRENDIDAS EN RELACION A LA PRODUCCION DE MATERIALES EDUCATIVOS EN SALUD EN LA REGION LORETO:

. Los mensajes deben ser cortos y sencillos

Así no:

Las que siguen son las medidas preventivas principales para la disminución del riesgo de contraer EDA entre los menores...

Así si:

Para que tu niño no se enferme de diarrea.....

. Los mensajes deben ser directos y no sugerir ni tener un final abierto a criterio de cada persona.

Así no:

Recuerda: La solución contra el cólera está en tus manos

Así si:

Lávate bien las manos antes de cocinar

. Los mensajes no deben prestarse a confusión

Recuerda que si no te lavas - las manos, nos da colera

Al ser validado este mensaje en dos caseríos del río Huallaga el 40% de los pobladores del grupo focal señalaron que "cólera" se refería al "enfado por ser sucios" y no a la enfermedad producida por el vibrium cholerae.

. Las historietas tienen gran impacto

Se puede decir así: Si tu hijito es menor de 5 años, acude al establecimiento de Salud más cercano para su vacunación.

O se pueden usar historietas como:

. Crear personajes hace que el mensaje sea más cercano. Cuando los mensajes son formulados en primera persona del singular o plural la gente puede sentirse más involucrada. Hemos visto que muchos contenidos tratados con estilo afectivo (emocional) son más apelantes.

Así no:

Los Técnicos y Auxiliares de Salud son trabajadores con un rol importante dentro del Sistema Regional de Salud de Loreto en favor de la mejora de las condiciones sanitarias comunitarias y de impacto regional.

Así si:

Querido colega Sanicho, nosotros tenemos una misión importante y tenemos un compromiso con nuestra comunidad y nuestra Región que tanto nos necesita.

. Los medios de comunicación pueden brindar su servicio de modo gratuito cuando ven las ventajas de recibir información técnica especializada y exclusivas noticiosas sobre temas de salud.

Así no: Enfermera a gerente de repetidora local de TV:

" Ya pues deme unos minutitos en el noticiero para tratar el tema de la disminución porcentual de los altos índices de EDA".

Así si: Enfermera a gerente de repetidora local de TV:

"Creo que la comunidad estará interesada en saber que todas las campañas de prevención de Diarrea que hemos venido haciendo con los colegios durante todo el año pasado está dando resultados, y ahora hay menos casos de Diarrea en la jurisdicción de nuestro Centro de Salud."

. Se deben omitir palabras técnicas

Así no:

Así si:

. Se deben resaltar los beneficios del producto o servicio ofrecido

Así no:

El control y crecimiento del niño es una obligación de toda madre

Así si:

Si llevas un control de crecimiento de tu llullo, va a crecer fuerte y sano

. Se deben crear personas que generen identificación con los mensajes

Así no:

La población de Loreto debe tomar medida preventivas para evitar la malaria

Así si:

Señora madre de familia haz que tus hijos se bañen antes de las seis de la tarde

. Se deben usar letras grandes y muchos espacios libres en la diagramación de los materiales

Así no:

Así si: La convención sobre los derechos del niño

.Se deben mencionar nombres de personas individuales como modo de crear liderazgo en personas involucradas en actividades de salud en las comunidades

Así no:

Así si:

. Los materiales deben tener colores fuertes y mensajes en positivo nunca en negativo.

Así no: No dejes que otro de

Así si: Lo mejor para evitar el SIDA es la prevención...

4.3. Técnicas educativas

LA CHARLA

La charla educativa es la forma de comunicación más usada en los caseríos y pueblos de la amazonía junto con la visita domiciliaria.

¿Qué es la charla?

Es una explicación oral sobre un tema a un grupo de gente.

¿Cómo dar una buena charla?
Antes de la charla:

Aseguramos de que el tema de la charla le interesa a la gente, y si no es así, explicarle a tu público que conociendo el tema se beneficiarán.

Preparar la charla:

- Aunque sepamos el tema y creamos que es muy fácil, revisamos nuestras notas, manuales o libros previamente.

- Definir claramente el tema sobre el cual vamos a dar la charla.

- Escribir un plan para la charla (Escribir las ideas sobre lo que queramos decir aunque sea en desorden y después ordenarlo)

- De preferencia usar una pizarra, un gráfico, un rotafolio porque ayudan a que la gente preste más atención.

- Saludar y agradecer por la asistencia a los presentes.

- Sentamos cerca a la gente a la que vamos a dirigir la charla.

- Si es posible, hacer que se sienten en círculo.

Durante la charla:

- Si todos los presentes no nos conocen, presentarnos.

- Tratar de que el auditorio se sienta en confianza con nuestra persona.

- Mientras exponemos hagamos preguntas al auditorio.

- Hablemos sobre cosas relacionadas con el tema central Tratemos de no perdernos hablando de otros temas que nos vengan a la mente durante la charla.

- Hablemos en voz clara.

- Usamos palabras sencillas.

- Llamemos a los participantes por su nombre.

- Da ejemplos que la gente haya vivido.

- Tratar de transmitir al auditorio que estamos convencidos de lo que exponemos.

- Observamos los gestos de la gente para ver si se aburren (movimientos, bostezos, sonrisas, etc.)

- Al final de tu charla repetir como resumen las ideas principales que queramos que la gente más recuerde.

Después de la charla:

- Hacer preguntas para ver si la gente ha comprendido.

- Si es posible fijar una fecha y un local constante de reunión (para que la charla sea una actividad regular del puesto o centro de salud)

EJEMPLO DE UN PLAN DE CHARLA EDUCATIVA

Tema:

"Cómo Prevenir la Malaria"

Objetivo de la Charla:

Que la personas sepan prevenir la Malaria

Lugar :

Local comunal

Hora: 4.00 p.m.

Público:

Madres de familia de la comunidad de Sintico

Materiales:

Rotafolio de Malaria y Pastillas de Malaria

ESTRUCTURA

1. Saludo, Introducción y motivación
Empiezo preguntando al público sobre lo que piensa:

- ¿ Por que las personas se enferman de Malaria?
- ¿Cómo vamos a reconocer si una persona tiene los síntomas?
- ¿Cómo se contagia la malaria?

El Problema de Malaria (es muy importante para hacer comprender a la población sobre el problema)
En la comunidad hay cerca de 30 personas con Malaria
Las personas no quieren asistir a las charlas educativas.
Las personas no toman el tratamiento
Enfatizo en las ventajas de estar sanos para trabajar y salir adelante como familia y como comunidad

2. Explicación

- ¿Como se contagia la Malaria? (Utilizar el rotafolio)

La Malaria es una enfermedad que se contagia por el Zancudo que se encuentra en aguas limpias por eso debemos organizamos para buscar medidas de solución

- ¿Como sabemos si una persona está con Malaria?

Fiebre fuerte
Sudoración abundante
Dolor de cabeza
Escalofríos "tembladera" o Chiri chiri"

- ¿Cuales son las medidas de prevención?

No bañarse muy tarde evitando que nos pique el zancudo
Si hay un enfermo debe estar permanentemente dentro del Mosquitero
Si el sanicho le indica que tome el tratamiento lo debe cumplir :al como le indico
Demostrar como se toma el tratamiento con las pastillas..

3. Preguntas al Público para ver si comprendideron el tema:

4. Repetición de las ideas principales o indispensables

5. Agradezco por la atención y acuerdo una próxima charla. Antes de acabar recuerdo a la población sobre los servicios que oferta el establecimiento de Salud

Conclusiones:

A la Charla asistieron 15 Padres y madres de familia, 2 profesores, 3 autoridades. La población acuerda que el problema es grave y que hay que hacer una "Mañanero" el día 20 de Octubre a las 6.00 y que los profesores ayudarán dando Charlas sobre el tema a sus alumnos

Luis Peña Flores
Técnico en Enfermería

EL SOCIODRAMA O PRACTICAS SIMULADAS

Son representaciones en las que un grupo simula situaciones de la vida real. Son especialmente útiles para adiestrar a las personas que están acostumbradas a aprender con la práctica más que con los libros.

Los participantes representan situaciones en las que tienen que resolver problemas parecidos a aquellos que encontrarán en sus respectivas comunidades. Los participantes pueden representar algunos objetos por medio de pantomima. Esto quiere decir que simulan hacer cosas tales como tocar la puerta, chancar plátano asado o despiojar a alguien, sin necesidad de usar una puerta, piedra o piojos. Este uso de la imaginación hace la práctica más divertida.

Los sociodramas deben ser divertidos pero también se deben tomar en serio. Las acciones y personajes pueden exagerarse a veces, pero deben ser básicamente fiel a las cosas y a la gente de verdad. Cuando sea posible, los sociodramas deben servir aumentar el entendimiento del grupo hacia la gente y sus problemas.

Los sociodramas son una de las mejores formas de relacionar el aprendizaje con la realidad, divirtiéndose a la vez.

Un sociodrama puede explorar varias de las áreas antes mencionadas. Ya que imita situaciones reales, esta práctica simulada hace que los estudiantes combinen una variedad de habilidades y entendimiento. Ellos tienen que pensar bien las cosas y usar todas sus capacidades de observación, análisis, imaginación y sentimientos humanitarios.

Es buena idea hacer una colección de notas de los diferentees sociodramas mientras los vaya desarrollando durante un programa de adiestramiento. Tal colección sirve como banco de memoria para instructores con experiencia, así como de mina de oro en ideas para nuevos instructores. Estas ideas deben, por supuesto, servir sólo como puntos de partida. Pueden ser cambiadas y aumentadas cada vez que un grupo de estudios las use.

Los sociodramas pueden ser agrupados por cursos. Para cada uno de ellos debe tenerse una lista de objetivos por aprender; actores, materiales y preparaciones necesarias; formas de presentación, y preguntas para discutir en grupo.

EJEMPLO DE UN PLAN DE UN SOCIODRAMA:

TEMA: Problemas de la piel: Sarna infectada

OBJETIVOS:

Ayudar a los participantes a aprender a hacer un examen médico completo, observar cuidadosamente, usar sus libros (y la cabeza), manejar el problema, y dar consejos al hermano o hermana mayor del niño.

ACTORES:

Un niño de 2 o 3 años (real si es posible)
La hermana mayor del niño (una Técnica y/o auxiliar de enfermería)
Promotor de salud (un técnico de enfermería)

MATERIALES:

Libro
Dos frijoles o bolitas
Marcadores rojo y amarillo
Cinta adhesiva (si es posible color de piel)
Termómetro de cartón fijado en 38º

PREPARACION:

Prepare al niño como si tuviera granitos de sarna
En una de las muñecas pinte granos de sarna infectados, con los centros amarillos de "pus"
Trace una línea rojo pálido en el mismo brazo (canal linfático)
Asegure dos frijoles o canicas con cinta adhesiva en el arca (bajo el brazo).
Ponga tierra en las manos y bajo las uñas del niño.
Vista al niño con mangas largas o envuélvalo de tal manera que las marcas no sean visibles hasta que lo desvista.

PRESENTACION:

La hermana mayor trae al niño para ver al sanicho
La hermana dice que el niño tiene calentura y está enfermo (no menciona ningun síntoma de sarna)
El promotor no sabe cuál es el problema, y trata de averiguarlo haciendo preguntas pero la hermana le da muy poca información.
El promotor toma la temperatura (38ºC y examina al niño (esperamos que le quite la camisa al niño y encuentre todas los signos)
El promotor busca en su libro, hace el diagnóstico más probable y da el tratamiento apropiado y consejos preventivos.

PREGUNTAS PARA DISCUSION

Estas preguntas de preferencia deben ser preparadas por los participantes.
El instructor puede hacer sugerencias sobre las preguntas que se deben hacer. Después los participantes deberán pensar en preguntas y asuntos importantes que el instructor podría haber olvidado.

LA TECNICA DEL FRANELOGRAFO O PIZARRON INFORMATIVO

Es muy común que en los Establecimientos de Salud exista una pizarra o un pedazo de tecknopor. Muchas veces está vacío o tiene algunas notas que no se han cambiado en mucho tiempo. Este, sin embargo puede ser un recurso importante, ya que la población lo observa detenidamente mientras espera ser atendida.

Para las capacitaciones, los franelógrafos grandes son muy útiles. Puede sostener rótulos y bastantes objetos para que todos los vean claramente.

Lo ideal es tener en el centro de salud un lugar adecuado con una cartelera para colocar el franelógrafo, donde la gente vaya con frecuencia. Cuando no se den clases o capacitaciones, puede usarse esta cartelera para exhibir carteles de salud. También puede pintarse la cartelera de negro para utilizarlo de pizarra. Para pegar las figuras en el franelógrafo puede usarse engrudo(preparado con harina y agua calentado a fuego lento). Si se dispone de alfileres se pueden utilizar ya que aseguran mejor las figuras y no se caen.

Tener cuidado de no llenar el franelógrafo con imágenes o letras que pueda saturar. Priorizar una idea o mensaje y trabajarla con gráficos de colores atractivos. No use muchas cosas escritas con letra pequeña, la gente se aburre y no las lee y si las lee se olvida rápido.

LAS CANCIONES

La gente casi siempre está cantando y aprendiendo canciones nuevas, las canciones son un medio por el cual se puede ayudar a recordar mejor los mensajes de salud.

Para hacerlas se debe tener en cuenta que deben usarse palabras claras, entendidas por la gente de la comunidad. Deben ser ingeniosas y divertidas, basadas en canciones populares a las que se les cambia la letra para recordarlas mejor.

Ejemplo:

Con la música de "la cucaracha"

Tema : "Dale suero pa' tomar"

Cuando tu niño está muy suelto,
no te pongas a llorar;
pues de repente, es muy urgente,
dale suero pa' tomar.

Hazle suero en tu casa:
de agua ponle una taza:
azúcar una cucharita;
sal, no más de una pizca.
Cuando tu niño...

Mientras sigue él obrando,
tú el suero sigues dando;
caldo y té le hará provecho:
sobre todo, dale pecho.
Cuando tu niño...

Este niño que te adora,
comerá en buena hora:
pero, si no ves mejora,
busca ayuda sin demora.
Cuando tu niño...


PÁGINA PRECEDENTE INICĚO DE PÁGINA PÁGINA SIGUIENTE