Back to Home Page of CD3WD Project or Back to list of CD3WD Publications

6.5 Types de séchoirs

Table des matières - Précédente - Suivante

La conception des séchoirs et leurs modes de construction offrent une vaste gamme de combinaisons possibles propres à remplir les conditions qui ont été mentionnées dans la section 6.4. Un séchoir n'est utile que s'il se révèle techniquement efficace pour un coût peu élevé. Au niveau de l'exploitation ou du village, cela signifie qu'il faut exploiter au maximum les matériaux et les compétences techniques disponibles sur place. Un séchoir peut être techniquement excellent, mais s'il est trop onéreux il ne sera pas plus utile qu'un séchoir bon marché qui n'obéit pas aux principes fondamentaux du séchage.

Il existe de nombreux types de séchoir et de nombreux modèles de chaque type. Au moment d'en choisir un, il est bon de se rappeler qu'il doit:

On peut concevoir le séchage comme une opération séparée de l'entreposage, ou combiner les deux opérations.

6.5.1 Le séchage en tant qu'opération distincte. Ce type de séchage implique des opérations absolument séparées de celles de stockage qui peuvent suivre. Cela est important, car le grain est mélangé après avoir été séché. Les grains trop secs absorberont l'humidité des grains trop humides. Lorsque le grain est mélangé après séchage, on obtient la teneur en eau finale moyenne souhaitée. Dans les opérations de stockage-séchage combinés, il n'y a pas mélange puisque le produit est déjà en entrepôt. Il ne doit pas y avoir de différences dans les teneurs en eau après le séchage: chaque grain ne doit être ni trop sec ni pas assez sec.

Avec la méthode du séchage au soleil, ou exposition des grains au soleil, il suffit de disposer d'une aire plane et d'un personnel suffisant pour répandre le grain, le retourner et le ramasser en cas de pluie ou quand il est sec. L'aire de séchage la moins onéreuse est la terre battue, mais celle-ci a l'inconvénient de contaminer les grains et de les exposer à l'humidité du sol. On peut y remédier, quand il s'agit de petites quantités, en étendant sur le sol une bâche ou une feuille de plastique dont on rabat les bords pour recouvrir les grains lorsque la pluie menace ou que la nuit tombe. Des feuilles de plastique noir sur lesquelles on étend le grain sur 40 mm d'épaisseur, en le brassant fréquemment, assurent le séchage le plus rapide. Mais le problème majeur de cette méthode est qu'elle exige beaucoup de main-d'œuvre.

Figure 6.7 Séchage en tant qu'opération séparée de l'entreposage.

Figure 6.8 Séchage et entreposage combinés.

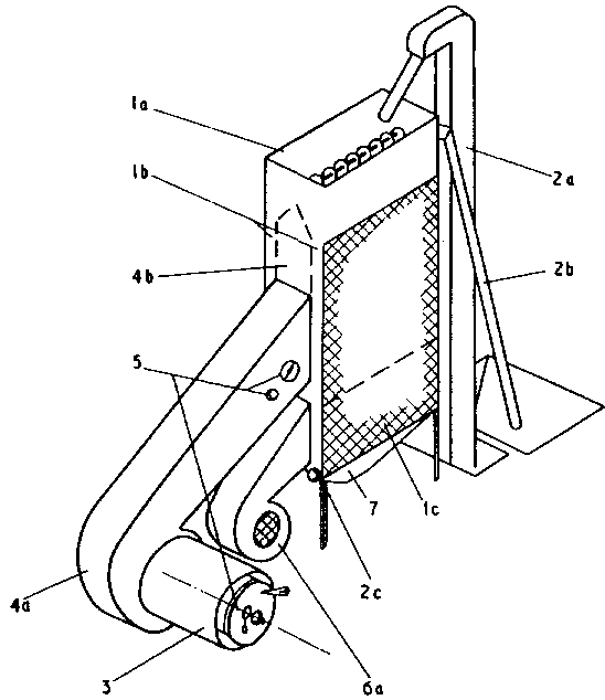
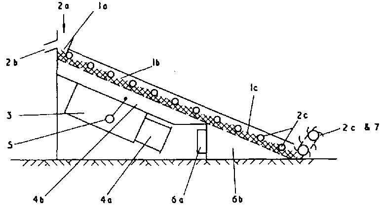
Le séchoir Brook (figure 6.$) est un exemple de séchoir à convection et air chaud. Le grain est étalé en une couche mince sur un plancher perforé qui constitue le haut d'une chambre de répartition d'air où se trouve une source de chaleur. Ce plancher perforé a des bords qui montent le plus haut possible, car il faut se rappeler que le produit doit être chargé et déchargé par-dessus les bords, à moins que ceux-ci soient amovibles (ce qui augmente le coût de l'installation). L'air pénètre dans la chambre de répartition d'air par des trous situés sur les côtés et aux extrémités; il est chauffé et s'élève à travers le plancher perforé, puis à travers le produit sécher, par convection naturelle.

Le séchoir discontinu à air forcé, dans sa forme la plus simple, consiste en un plancher perforé placé au-dessus d'une chambre de répartition d'air.

Figure 6.9 Séchoir à convection naturelle, vue d'ensemble.

Un ventilateur propulse l'air à travers les grains étalés sur le plancher perforé. En principe, l'air est chauffé avant de passer à travers le produit. Une fois séchées, les céréales sont enlevées, refroidies, puis entreposées. Ce système permet un séchage rapide, mais sa construction coûte cher. Il exige également du matériel qui n'est pas toujours à la portée des agriculteurs. En outre, il faut compter l'achat du combustible qui fera fonctionner le ventilateur et les frais d'entretien du matériel. Il existe de nombreux exemples de ce type de séchoir. La figure 6.10 en donne une illustration.

Figure 6.10 Séchoir discontinu à air forcé.

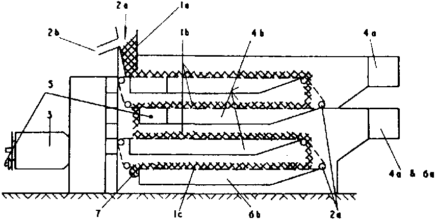
Avec le séchoir à air forcé et à écoulement continu, les grains se déplacent en permanence à travers le séchoir, en même temps que de l'air chaud y est pulsé. Les grains peuvent tomber par gravité entre deux parois perforées ou descendre sur un fond perforé en pente. Dans certains séchoirs, les grains sont acheminés au-dessus d'un fond perforé horizontal au moyen de palettes qui avancent lentement. Il importe de surveiller très attentivement la température de l'air pour éviter d'endommager le grain. Ce type de séchoir exige des brûleurs spécialement conçus et des ventilateurs coûteux. Il ne convient qu'à des opérations de grande envergure portant sur de grosses quantités de céréales. Les figures 6.11, 6.12 et 6.13 donnent des exemples de séchoirs à écoulement continu.

Figure 6.11 Séchoir à cascade.

Figure 6.12 Séchoir à cascade multicouches.

Figure 6.13 Séchoir à double écoulement continu.

Légendes des figures 6.11, 6.12 et 6.13

1. Cuves à grain

a. réservoir
b. cellules de séchage
c. cellules de refroidissement

2. Système de mise en route et de réglage de l'écoulement du grain

a. alimentation
b. trop-plein
c. mécanisme de réglage

3. Chauffage de l'air

4.

a. Ventilateur pour l'air chaud
b. Chambres d'air chaud

5. Système de régulation de la température de l'air chaud

6.

a. Ventilateur de refroidissement
b. Chambres de refroidissement

7. Sortie du grain

6.5.2 Séchage et entreposage combinés. Ces systèmes utilisent la même structure pour l'entreposage et le séchage. L'installation d'entreposage est conçue de telle sorte que le produit sèche pendant la première partie du stockage. Dans la plupart des silos-séchoirs, on ne prélève le produit qu'au moment où l'on en a besoin. Dans certains cas, cependant, la structure est utilisée pour effectuer un séchage par lots discontinus.

L'un de ces séchoirs est le silo-séchoir à ventilation naturelle. L'exemple le plus courant de ce groupe est le crib, qui sera décrit en détail dans la section 10.

Le groupe des silos-séchoirs à air forcé comprend les cellules de stockage ventilées et les systèmes de stockage-séchage sur plancher. Tous deux sont employés pour le stockage en vrac de grandes quantités de céréales. Il faut beaucoup de compétence et d'expérience pour utiliser ces systèmes avec succès. On peut voir des exemples de ce type de séchoir dans les figures 6.14 et 6.15.

La figure 6.11 montre un séchoir à grains à écoulement continu sur fond à chicanes qui fonctionne selon le principe de la cascade. C'est un séchoir à colonnes dans lequel le grain est entraîné vers le bas par le déplacement du fond à chicanes et dans lequel l'épaisseur du grain est contrôlée par une série de galets porteurs. Le taux d'extraction de l'humidité est réglé par une courroie de transmission à vitesse variable reliée à l'élévateur qui soulève uniformément le grain sur toute la largeur du fond au bas de la zone de refroidissement. Cette machine convient pour tous les types de grains qui s'écoulent et pour la plupart des matériaux granuleux. Presque entièrement autonettoyante, elle est très appréciée des producteurs de semences. Ce séchoir à cascade convient tout particulièrement au séchage des pois, des haricots, du café et du riz.

Figure 6.14 Silo-séchoir sur plancher.

Figure 6.15 Zones de séchage dans des cellules de stockage ventilées par le bas.

Figure 6.16 Cellule de stockage à ventilation radiale avec cylindre central et parois perforées.

La majorité des modèles sont livrés d'une seule pièce, ce qui rend l'installation extrêmement simple et rapide. Il existe des modèles normalisés ayant des rendements de 2.5 à 12,5 tonnes à l'heure. Les petits séchoirs à cascade peuvent être livrés sous forme d'unités mobiles. Des séchoirs à cascade multicouches (fig. 6.12) sont fabriqués sur commande, lorsque les conditions du terrain l'exigent.

La figure 6.13 montre un séchoir à grains à écoulement continu sur fond à chicanes qui opère selon le principe du double écoulement L'écoulement du grain dans cette machine est facilité par l'emploi d'une bande transporteuse actionnée par une chaîne à galets, à vitesse variable et à fort rendement. Le séchoir à double écoulement est utilisable avec la plupart des céréales et des matériaux granulaires, y compris les céréales ayant une très forte teneur en eau comme le riz et le mais, A mi-parcours, le matériau est complètement retourné et mélangé en tombant de la couche supérieure à la couche inférieure. On peut exploiter le fort effet nettoyant exercé par le courant d'air qui traverse le rideau de grains en cet endroit.

Sur ce modèle, les points d'alimentation et de déchargement se trouvent à l'une des extrémités de la machine, ce qui simplifie l'installation. L'autre partie du séchoir dépasse généralement du bâtiment pour économiser de l'espace et permettre à l'air humide et à la poussière de s'évacuer dans l'atmosphère. Les supports du toit sont prévus pour recevoir six grosses plaques d'amiante. Les modèles standard ont des rendements de 4 à 85 tonnes par heure. Il existe des séchoirs mobiles à double écoulement dont le rendement peut aller jusqu'à 21 tonnes à l'heure. Il est possible de se procurer des séchoirs à écoulement multiple pour des utilisations particulières.


7. Entrepôts

Les entrepôts sont des structures d'entreposage permanentes, à usages multiples, qui protègent les produits contre la pluie, le soleil et le vent et permettent de gérer les stocks de manière efficace.

Les entrepôts de stockage des céréales sont des structures plus spécialisées, conçues spécifiquement pour emmagasiner les céréales en grains et les légumes secs. Les grains peuvent étre stockés en vrac ou en sacs. La plupart des entrepôts de céréales sont agencés pour un entreposage en sacs. Les capacités d'emmagasinage vont de 50 à 5 000 tonnes de grain en sacs par entrepôt, ce qui demande une surface au plancher de 50 à 2000 m2. Il n'est pas rare de trouver des entrepôts de dimensions plus petites pouvant emmagasiner entre 5 et 10 tonnes de grain en sacs, mais le coût du stockage à la tonne est alors très élevé et il est recommandé de trouver d'autres méthodes, tel le stockage en cellule.

7.1 Construction des entrepôts

Un entrepôt se présente généralement sous la forme d'un bâtiment ayant une armature en béton, des murs en blocs de béton, une charpente métallique et une toiture en tôle ondulée galvanisée, une superficie au plancher de 600 m2, 15 m de largeur et 40 m de longueur. C'est le type de structure standard qu'offrent les entreprises commerciales de construction; les autres modèles coûtent habituellement plus cher à l'unité.

Pour des entrepôts occupant une superficie inférieure à 200 m', on peut utiliser des matériaux locaux, pisé et bois d'œuvre. Ce n'est pas l'idéal pour un stockage de longue durée, mais suffisant pour un stockage à court terme - dans des centres d'achats primaires, par exemple.

7.2 Coût de la construction

En matière d'installations d'entreposage, les économies d'échelle sont très marquées. Dans les grandes villes, les prix peuvent aller de 200 dollars/m2 pour une superficie au plancher de 500 m2 à 180 dollars/m2 pour une superficie au plancher de 2000 m2. Dans les régions éloignées, les coûts de base peuvent être majorés de 50 pour cent et il faut y ajouter jusqu'à 30 pour cent de frais supplémentaires pour créer les accès routiers et amener les services.

Figure 7.1 Entrepôt.

Ainsi, dans les régions éloignées, le prix au mètre carré peut être de 30 pour cent plus élevé pour les petits magasins et la différence peut aller jusqu'à 40 pour cent pour des surfaces au plancher supérieures à 1000 m2, par rapport aux prix pratiqués près des villes.

7.3 Volume utile

Il n'est pas possible de remplir complètement les entrepôts de sacs de grains. Il faut réserver des voies d'accès et l'espace apparemment perdu occupé par les allées, les dégagements et les passages autour des piles est essentiel à la ventilation, à la circulation, à l'hygiène et à la fumigation. Pour un magasin d'une capacité de 500 tonnes, le volume utile peut représenter moins de 50 pour cent du volume interne brut compris au-dessous du plafond. Plus la taille du magasin s'accroit plus le volume utile augmente; il peut atteindre un maximum d'environ BO pour cent pour des entrepôts d'une capacité de 10000 tonnes. Pour un entrepôt donné, le volume utile peut aussi être réduit par la grande variété de produits stockés, par un entreposage de courte durée obligeant à défaire et refaire continuellement les piles, par une infestation causée par des ravageurs et/ou par une mauvaise gestion.

7.4 Protection des produits stockés dans un entrepôt

Empêcher que l'humidité du sol n'atteigne le produit

Le sol en béton peut être doté d'une barrière contre l'humidité ou membrane lors de la construction d'un entrepôt.

Des palettes sont également utilisées pour former une barrière contre l'humidité.

Empêcher que l'humidité des murs n'atteigne le produit

Empiler les sacs soigneusement de façon à:

- utiliser l'espace au mieux;
- pouvoir balayer le plancher;

Figure 7.2 Bon entretien d'un entrepôt.

Figure 7.3 Fardage.

Figure 7.4 Palettes.

Figure 7.5 Espace Entre le produit et les parois.

- pouvoir inspecter le produit pour déceler la présence de rongeurs et d'insectes;
- pouvoir compter les sacs;
- faire circuler l'air entre les sacs.

Lutter contre les insectes et les rongeurs en:

- obturant toutes les ouvertures des portes, toitures, etc. par lesquelles les ravageurs pourraient entrer;
- obturant les fissures des murs où les ravageurs pourraient se cacher;
- traitant le bâtiment et le produit contre les ravageurs;
- gardant l'entrepôt dans un état de parfaite propreté;
- enlevant et détruisant les résidus infectés qui pourraient contaminer des produits nouvellement emmagasinés.

Figure 7,6 Fardage: feuille de plastique; branches et palettes.

7.5 Fardage

Le fardage consiste à placer un matériau entre le plancher d'un entrepôt et les sacs contenant le produit afin d'empêcher que l'humidité ne passe du sol au produit et ne provoque des moisissures ou de la pourriture.

Le fardage le moins coûteux est celui gui se compose simplement d'une natte imperméable épaisse ou d'une feuille de plastique non perforée, sur lesquelles on pose ensuite les sacs.

On peut aussi poser des branches droites sur le plancher et placer les sacs dessus.

Le type de fardage le plus coûteux se compose de deux plateaux de planches fixés solidement à des traverses qui ménagent un vide entre les deux épaisseurs. Ces plateaux en bois scié sont appelés palettes et peuvent être manipulés au moyen de chariots élévateurs à fourche. Les palettes doivent être inspectées et pulvérisées avant l'emploi afin d'éviter l'infestation croisée et les dégâts qui pourraient être causés aux sacs par des clous, des fentes, des échardes, etc.

7.6 Empilage des sacs

Si les sacs sont les uns sur les autres, sans décalage entre les couches successives, la pile risque d'être très instable. Il est préférable de faire se succéder les couches en disposant les sacs différemment à chaque couche. Cette méthode permet non seulement d'obtenir un empilage plus sûr, mais également de faire plus facilement l'inventaire par un compte plus rapide des sacs.

Les sacs sont généralement empilés par couches de trois, cinq ou huit sacs. La figure 7.7 montre comment on organise les couches paires et impaires.

7.7 Protection contre les insectes des sacs stockés dans des entrepôts

Trois méthodes chimiques sont couramment employées pour lutter contre les insectes qui infestent les sacs stockés dans les entrepôts. Ces méthodes sont les suivantes:

L'admixtion de poudres insecticides peut être très efficace à condition d'utiliser l'insecticide approprié On a découvert récemment que certaines poudres synthétiques à base de pyréthrine et de pirimiphos-méthyl appliquées à des doses comprises entre 2,5 ppm et 15 ppm d'ingrédient actif (selon l'insecticide) éliminaient complètement pendant au moins huit mois les insectes de sacs entreposés.

Figure 7.7 Empilage des sacs.

Le mélange des poudres avec le grain peut se faire de diverses façons: à la pelle sur une bâche ou, pour de grandes quantités, dans un tambour à axe excentré.

L'admixtion de poudres avec le grain entreposé présente des risques pour l'homme et n'est pas recommandée, sauf si l'on est sûr de l'innocuité de l'insecticide et si le grain ne doit être consommé qu'après une longue période en magasin.

Figure 7.8 Tambour mélangeur.

La pulvérisation ou le poudrage d'insecticides sur des couches de sacs successives (fig. 7.9) présentent moins de danger pour l'homme, mais ne sont pas toujours efficaces. Toutefois, on a constaté dernièrement que le pirimiphos-méthyl (en concentré émulsifiable - Actellic SO ce), appliqué non dilué (50 ce) à raison de deux à trois projections par sac au moyen d'un simple pulvérisateur domestique, a pratiquement éliminé les charançons de sacs de mals très infestés et que la population était encore très réduite même huit mois plus tard. Mais il est toujours risqué d'employer des insecticides non dilués.

Figure 7.9 Pulvérisation d'une couche de sacs.

Figure 7.10 Fumigation sous bâche.

Finalement, la méthode la plus satisfaisante pour éliminer et combattre les insectes dans les sacs de grain est la fumigation. Elle consiste à libérer un gaz parmi les sacs recouverts d'une bâche étanche aux gaz, maintenue contre le sol par des boudins de sable ou par une grosse chaîne gainée de toile d'emballage (fig. 7.10). On garde la pile ainsi bâchée pendant au moins trois jours.

Pour traiter un stock relativement petit (100-300 tonnes), le fumigant le plus adapté est le phosphure d'aluminium qui libère de la phosphine en absorbant de l'humidité. On recommande d'employer une tablette de fumigant pour deux sacs, à condition que la pile ait une dimension telle qu'elle puisse être complètement recouverte en deux heures. La phosphine peut aussi être utilisée pour de plus grosses quantités de grain.


8. Entreposage centralisé

La gestion des installations centralisées d'entreposage et de manutention des grains doit répondre à des objectifs contradictoires: de grandes quantités et pour de longues périodes.

Les installations portuaires par lesquelles transitent des importations ou des exportations de céréales emploient un matériel de manutention mécanique qui ne se justifie que par une utilisation intensive. Il est avantageux de pouvoir traiter rapidement de gros volumes de grain en vrac car cela permet aux navires, aux trains de marchandises et aux transports routiers d'abréger les attentes, donc d'éviter de payer des frais de surestaries.

Ce genre d'installations n'est cependant pas nécessaire pour un entreposage de longue durée où, à la limite, le grain peut ne pas bouger pendant plusieurs années. Mais il est toujours conseillé de recycler les réserves céréalières d'urgence dans le circuit de distribution normal selon la règle des « premiers entrés premiers sortis n.

Les entreposages centralisés sont généralement équipés d'installations de séchage pouvant traiter le grain qui arrive avec une teneur en eau supérieure à 13 pour cent, en vue d'un stockage de longue durée.

9. Protection des produits entreposés contre les ravageurs

9.1 Introduction

Il existe plusieurs techniques pour lutter contre les insectes ravageurs des produits entreposés - depuis l'exposition au soleil et le fumage, pratiqués dans l'agriculture traditionnelle, jusqu'à l'irradiation de gros volumes de produit en vrac. La présente section ne traitera que des techniques éprouvoes qui peuvent être employées dans le cadre d'un entreposage à petite et moyenne échelle en milieu tropical.

Il est difficile de formuler des recommandations spécifiques. Une technique doit être expérimentée dans un contexte particulier, car elle peut ne plus convenir si des changements interviennent concernant:

Il importe donc de tenir compte tant des considérations économiques que des spécifications techniques - efficacité contre les ravageurs visés, risques pour l'exploitant et le consommateur.

L'amélioration résultant de l'emploi d'une technique de lutte compenserat-elle le coût de l'opération? Ce n'est qu'après des essais de terrain complétés par une évaluation des pertes qu'une réponse satisfaisante pourra être donnée.


Table des matières - Précédente - Suivante