FIG.1.Annex 1.Different types and sizes of packaging.
FIG.2.Annex 1.Different types and sizes of packaging.
FIG.3.Annex 1.Different types and sizes of packaging.
FIG.4.Annex 1.Different types and sizes of packaging.
FIG.5.Annex 1.Different types and sizes of packaging.
FIG.6.Annex 1. Different types and sizes of packaging.
Annex II. Wooden collapsible crate, developed by TDRI.
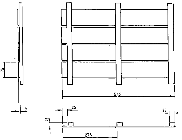
SPECIFICATIONS AND ILLUSTRATIONS: FOLDING WOODCRATE CUTTING LIST AND FITMENTS REQUIRED FOR BASIC AND MODIFIED MARK IV CRATE
Basic Mark IV Crate
The cutting flat required for the basic Mark IV crate with 6 mm boards for the lid, and 6 mm boards and struts for the bottom is listed la Table 1 and other parts are listed In Table 2.
TABLE 1 CUTTING LIST FOR MARK IV CRATE
| Item No. |
Description | Material | No. required | Length mm | Width mm | Thickness mm |
| 1 | Side rail | Gommler | 4 | 580 | 25 | 15 |
| 2 | End rail | Gommler | 4 | 380 | 25 | 15 |
| 3 | Side board | Mahot cochon | 14 | 298 | 70 | 6 |
| 4 | Centre end board, wide | Mahot cochon | 2 | 265 | 70 | 7 |
| 5 | End board, narrow | Hahot cochon | 8 | 330 | 50 | 6 |
| 6 | End cross batten | Mahot cochon | 2 | 326 | 35 | 6 |
| 7 | Lid board | Mahot cochon | 4 | 520 | 75 | 6 |
| 8 | Lid batten | Mahot cochon | 3 | 380 | 25 | 15 |
| 9 | Bottom board | Mahot cochon | 4 | 570 | 75 | 6 |
| 10 | Bottom abut | Mahot cochon | 3 | 322 | 35 | 6 |
There is a ± 2 &m tolerance on these figures. The use of reinforcing wire around the top and bottom of each side and end panel increases the dimensions by approximately 4 mm each way. The crate thus gives a 600 mm x 400 mm module suitable for pallet stacking.
Taken from: Report on a woodcrate development project in Dominica, for the East Caribbean, September - December 1986, by M.B. Burbage, tropical Development and Research Institute, London.
TABLE 2 FITMENTS REQUIRED FOR MARK IV CRATE
| Item No. | Description | Size | Amount Required | Purpose |
| 1 | Rivet; domed head; aluminium alloy. | 4.8 mm x 30 mm | 8 | Corner hinge. |
| 2 | Washers, metal | To fit rivets | 8 | - |
| 3 | Binding wire. | 2 mm diameter | 6.5 metres | Lid flea; crate reinforcement. |
| 4 | Staples; galvanised. | 15 mm Chise1 point | 8 | To fix ties to lid battens. |
| 32 | To fix reinforced wire to rails. | |||
| 5 | Staples; galvanised. | 18 mm Chise1 point* | 70 | To fix end cross battens to boards; lid boards and bottom boards to battens/struts. |
| 6 | Staples; galvanised. | 30 mm Chise1 point | 94 | To fix aide and end boards to rails. |
* Initially 15 mm staples were used to fix bottom boards to struts; after the further drop-testing, these were changed to 18 mm to allow full clinching. 18 mm diverging point staples may be substituted for up to 54 of the 18 mm chisel point staples.
Crate Mark IV A - Thicker Lid and Bottom
Items in Table 1 should be altered as shown In Table 3.
TABLE 3 ALTERATIONS TO CUTTING LIST FOR MARK IV A CRATE
| Item No. | Description | Material | No. required | Length mm | Width mm | Thickness mm |
| 7 | Lid Board | Mahot cochon | 4 | 520 | 75 | 9 |
| 9 | Bottom Board | Mahot cochon | 4 | 570 | 75 | 9 |
| 10 | Bottom Strut | Mahot cochon | 3 | 322 | 35 | 9 |
Similarly, the 24 x 18 mm staples required for each of the lid and bottom should be changed to 30 mm staples. The minimum staple else necessary la 28 mm for the lids and 22 mm for the bottoms.
Crate Mark IV B - Thicker Lid and Bottom: Lid Extension
The alterations to the bottom are as for Mark IV A. Item 7 should be altered to length 545 mm, width 75 mm and thickness, 9 mm, to allow one end of the lid to fit under the side rail. The four metal ties may be retained but two or four plastic or string ties may be substituted.
TABLE 4 EQUIPMENT REQUIRED FOR WOODCRATE MANUFACTURE
| Item | Number Required | |
| Minimum | Preferred | |
| Band shingle saw | 1 | |
| or Heavy duty bandsaw | 1 | |
| or Circular saw (most wasteful of wood) | 1 | |
| and Peeling or slicing machinery (for cutting thin boards) | 1 | |
| Drill (to make rivet holes) | 1 | |
| Pop rivet gun | 1 | |
| Pneumatic stapler, hand-held (one for each staple type/sise) | 1 | 3 |
| Compressor (2 staplers run from 1 compressor) | 1 | 2 |
Note. The use of a bent shingle saw has been suggested but information on blade life using mahot cochon and gommler is not available. Careful assessment is necessary of blade life/replacement blade cost for both the band shingle saw and bandsaw, versus wood wastage using a circular saw. A specially hardened metal cutting blade is recommended If a bandsaw la employed, but this is not resharpenable; use of an ordinary steel blade would involve frequent sharpening and purchase of a sharpening machine; this option is likely to prove more expensive than using a specially hardened blade.
It has not been possible to identify a peeling/slicing machine or a veneer lathe that would give suitable thickness boards or throughput, but it may be possible to have an appropriate machine manufactured. Known machines give 8 maximum thickness of 8 mm which would be satisfactory for box boards but not for the 9 mm boards of lid and bottom. Typical output would be higher than required eg 400 boards under 80 mm wide per minute. Again, the coat, if a suitable slicing machine can be identified, may militate against purchase, as £20,000 to £25,000 appears to be the average price for models from EC producers.
The equipment list presupposes access to workbench, plane, fabrication jigs (made from steel angle), and hand tools such as hammers and bolt cutters. Details of potential suppliers follow for Items where local supply is unlikely.
Potential Suppliers of Equipment for Woodcrate Manufacture
1. Band shingle saw (current model is for cedar shingles)
George Schell
335 Main Street
Foxboro Ontario KOK 2BO
Canada
It la possible that a one-off machine could be manufactured in Dominica with expertise from staff of Dominica Timbers or Davis Brothers.
2. Bandsaw
Wadkin plc (700 mm bandsaw, for saw blades up to 27 mm wide; coat approx. £2,500 fob)
Green Lane Works
Leicester LE5 4PF
England
George Schell (address as for 1) (Current models coat approx. Canadian $7000).
3. Peeling/Slicing Machine
Angelo Cremona and Figlio S. Cremona and Figlio
Viale Lombardia 275 Via Farina 7
20052 Monza 20058 Villasanta (Milano)
Italy Italy
T.E.M.S.A. (agents for Corali) Corali
8 Avenue Jean-Foucault Fonderie Officine die carobbio di Bruno
34500 Beziers Corali
France Via Bolgare 10
24060 Carobbio degli Angeli
Bergamo
Italy
(ea. Slicing machine with cutting width 950 mm, size of cut strips 10 mm to 180 mm; maximum thickness 8 mm; coat £20,000 to £25,000 approx.).
4. Stapling Machine
BeA Fastening Systems Ltd British Industrial
Fastenings
Swinemore Industrial Estate BIF House
Beverley Gatehouse Road
Humberside HU17 OLA Aylesbury
England Bucks HP19 3DS
England
(various models, from £265)
5. Air Compressor
Suppliers as for 4. (Models with output 3.5 cfm to 4.2 cfm, from £260)
6. Staples
(Suppliers as for 4. eg 15 mm chisel point, £5.37 per 5000
18 mm chisel point, £6.04 per 5000
30 mm chisel point, £3.73 per 2000 from BeA)
7. Rivets
Aluminium alloy, domed head.
Primary Fixings Gesipa Fasteners
127 Jockey Road Dalton Road
Sutton Coldfield Keighley
Birmingham B73 5PJ West Yorkshire BD21 4JU
England England
(Minimum size required, 4.8 mm x 30 mm; grip length 22-26 mm £34.99 per 1000 from Primary Fixings).
8. Potential Suppliers of Plastic Closures
Ease-Lok Ltd Hellermann Insuloid
Unit G3 Sharston Works
Insworth Technology Park Leestone Road
Insworth Lane Wythenshawe
Gloucester GL3 1DL Manchester M22 4RH
England England
R K Packaging Ltd Tripack (UK) Ltd
261 Bedford Road Lancaster Approach
Kempston North Killingholme
Bedford MK42 8BP South Humberside DN40 3JZ
England England
FIG.1.FOLDING WOODCRATE MARK IV GENERAL VIEW
FIG.2.FOLDING WOODCRATE MARK IV: SIDE PANEL - INTERNAL VIEW
FIG.3.FOLDING WOODCRATE MARK IV: SIDE PANEL - EXTERNAL VIEW
FIG.4.FOLDING WOODCRATE MARY. IV: END PANEL - INTERNAL VIEW
FIG.5.FOLDING WOODCRATE MARK IV: END PANEL - EXTERNAL VIEW
FIG.6.FOLDING WOODCRATE MARK IV: BOTTOM - UNDERSIDE
FIG.7.FOLDING WOODCRATE MARK IV: BOTTOM FROM ABOVE
FIG.8.FOLDING WOODCRATE MARK IV LID - FROM ABOVE
FIG.9.FOLDING WOODCRATE MARK IV LID - FROM BELOW
FIG.10. FOLDING WOODCRATE MARK IV B.: LID FROM ABOVE
FIG.11.FOLDING WOODCRATE MARK IV B LID-UNDERSIDE
Annex III. DIMENSIONS OF TRANSPORT PACKAGES
| Multiples | |
| mm | inches |
| 1200 x 1000 | 47.25 x 39.37 |
| 1200 x 800 | 47.25 x 31.50 |
| 1200 x 600 | 47.25 x 23.62 |
| 1200 x 400 | 47.25 x 15.75 |
| 800 x 600 | 31.50 x 23.62 |
| Module | |
| mm | inches |
| 600 x 400 | 23.62 x 15.75 |
| Sub-multiples | |
| mm | inches |
| 600 x 400 | 23.62 x 15.75 |
| 300 x 400 | 11.81 x 15.75 |
| 200 x 400 | 7.88 x 15.75 |
| 150 x 400 | 5.90 x 15.75 |
| 120 x 400 | 4.72 x 15.75 |
| 600 x 200 | 23.62 x 7.87 |
| 300 x 200 | 11.81 x 7.87 |
| 200 x 200 | 7.88 x 7.87 |
| 150 x 200 | 5.90 x 7.87 |
| 120 x 200 | 4.72 x 7.87 |
| 600 x 133 | 23.62 x 5.25 |
| 300 x 133 | 11.81 x 5.25 |
| 200 x 133 | 7.88 x 5.25 |
| 150 x 133 | 5.90 x 5.25 |
| 120 x 133 | 4.72 x 5.25 |
| 600 x 100 | 23.62 x 3.93 |
| 300 x 100 | 11.81 x 3.93 |
| 200 x 100 | 7.88 x 3.93 |
| 150 x 100 | 5.90 x 3.93 |
| 120 x 100 | 4.72 x 3.93 |
Annex IV. STANDARDS FOR TRANSPORT PACKAGES
| Standard floor size : 600 x 400 mm | ||
| Height (mm) | Commodity | Content |
| 300 | Cabbage green | 18 head |
| 300 | Cabbage green 7" | 14 head |
| 300 | Lettuce (4-5") | 40 head |
| 300 | Lettuce (4 1/2-5") | 30 head |
| 300 | Lettuce (5 1/2-6 1/2) | 24 head |
| Standard floor size : 400 x 300 mm | ||
| Height | Commodity | Content |
| 150 | Okra | 1/2 bunch |
| 200 | Eggplant | |
| 300 | Bean (green) | 31.5 pound |
| 300 | Lemon (115+119) | 132 count |
| 300 | Lemon (165+172) | 185 count |
| 300 | Pear | 44.8 pound |
| 300 | Pepper (hot) | 1 bunch |
| Standard floor size : 500 x 300 mm | ||
| Height | Commodity | Content |
| 140 | Grape | 22.0 pound |
| 160 | Peach 2 1/4 | 26.0 pound |
| 160 | Peach 2 3/8 | 23.5 pound |
| 160 | Peach 2 7/16 | 25.9 pound |
| 160 | Peach 2 5/8 | 24.0 pound |
| 160 | Peach 2 13/16 | 24.5 pound |
| 160 | Peach 2 1/8 | 24.5 pound |
| 200/300/400 | Orange 88 | 90 count |
| 200/300/400 | Orange 100 | 98 count |
| 200/300/400 | Orange 113 | 110 count |
| 230 | Tomato | 29.5 pound |
| 250 | Beans green | 28 pound |
| 300 | Broccoli | 14 bunches |
| 300 | Cucumber | 85 count |
| 300 | Eggplant | 21 count |
| 300 | Grapefruit 27 | 32 count |
| 300 | Grapefruit 36 | 40 count |
| 300 | Grapefruit 40 | 38 count |
| 300 | Grapefruit 48 | 53 count |
| 300 | Lettuce 4 1/2-5 1/2 | 24 head |
| 300 | Peach (South 2 1/4") | 45.8 pound |
| 300 | Pepper (Cuban) | 25.8 pound |
| 300 | Pepper (green) | 75 count |
| 300 | Pepper (red) | 1 1/9 bunch |
| 300 | Potato (white) | 57.2 jumble |
| 300 | Potato (round red) | 45.0 pound |
| 300 | Romaine | 18 head |
| 300 | Squash (Acorn) | 33 count |
| 300 | Squash (Butternut) | 24 count |
| 300 | Zucchini | 1 1/9 bunch |
| Standard floor size : 500 x 400 mm | ||
| Height | Commodity | Content |
| 110 | Grape | 24.0 pound |
| 210 | Melon, honeydew 7 3/4" | 5 count |
| 300 | Cabbage (red) | 16 head |
| 300 | Celery (Michigan 3") | 38 count |
| 300 | Greens (spinach, turnip, kale, collard) | 25.6 pound |
| 300 | Lettuce (4-5") | 32 head |
| 300 | Lettuce (5 1/2-6 1/2") | 18 head |
Annex V. COMPARING DIFFERENT PACKAGES USING THE CHECKLIST
In this example a comparison is made using the checklist (see next page) between:
Column 1
The package in this example is meant for use in the inter-island trade of fruits, vegetables and root crops and should be able to hold different commodities. The most important function of packaging in the inter-island trade is protection (40%), followed by cost (30%) and containing produce (20%) and then marketing and communication (5% each).
Column 2
Protection during handling, transport and marketing is considered the most important sub-function of protection (15%), followed by good ventilation, consistent dimensions, easy to clean and pilfer-proof (each 5%), etc.
Columns 3 to 6
Ad 1. The huckster/trafficker trade deals with all kind of perishable produce and the volumes of one commodity traded per huckster or trafficker often do not justify the use of packages with different capacities. The basket of one meter high is not suitable for soft fruits. The capacity of the carton box (30 liter) is not sufficient for large commodities such as watermelons.
Ad 2. Shifting of cargo is mainly done by hand and a basket with a volume of around 200 liter cannot be lifted by one person. The carton box is too easy to handle, in which case the person will lift two boxes at once and the grip will easily tear due to the higher weight.
Ad 3. A standard design would simplify handling of produce, but the holds of most inter-island vessels are not build for standard packaging. The basket is the only package in this example which has different designs and sizes.
Ad 4. Also here the sum of pallets is restrained by the hold of the vessels. Best fitting on a pallet are the 600 x 400 mm size crates, followed by the carton box.
Ad 5. The basket can not be stacked properly. The wooden and plastic crates are stable due to the larger floor size (600 x 400 mm) and to the height per crate (only five crates for a height of 1.50 meter). The carton box can reasonably be stacked.
Ad 6. The hold of an wooden vessel is at least 2 meters high and the package on the bottom should not collapse under the pressure of the stack. The rigid wooden and plastic crates will maintain their shape even with high stacking. The carton box will indent when not properly (corner on top of corner) stacked.
Ad 7. As long as the conditions in the hold of the vessels have not changed, there will be no need for ventilation of the crates and a relatively low priority has been given to this item. The best ventilation can be obtained by the plastic and wooden crate. Liners of palm leaves inside the basket prevent good ventilation. The telescopic carton boxes are often overfilled and consequently not properly closed with the result that the ventilation holes are not in line anymore.
Ad 8. Pallets are not yet used in the inter-island trade and every crate has to be picked up and put down several times before it reaches its destination. In order to prevent losses this item should have a very high importance. Both the wooden and plastic crate give a very good protection.
Ad 9. Baskets may have sharp edges, whereas plastic crates and carton boxes have smooth surfaces.
Ad 10. Not applicable. Liners are not yet in use in the inter-island trade.
Ad 11. Plastic crates are much easier to clean than wooden crates or baskets. Carton boxes are only used once.
Ad 12. Only the plastic stack-nest crate has no cover and pilferage of produce is possible.
Ad 13. A label is difficult to attach to a basket and easiest to attach to a carton box.
Ad 14. Logo and brand name can be printed in colour on a carton box.
Ad 15. Carton boxes are very suitable for presenting produce, whereas woven baskets are not suitable.
Ad 16. Depending on importing country. Some countries do no longer accept baskets.
Ad 17. Baskets and carton boxes have the lowest purchase cost.
Ad 18. The wooden and plastic crates can be used for several journeys resulting in a lower running cost of these packages per trip.
Ad 19. Carton boxes and plastic crates are not repairable. Only wooden crates can be repaired locally.
Ad 20. The same for all package types.
Ad 21. The freight costs in the Eastern Caribbean are high and a low cargo volume of empty crates is important. The basket uses the same volume on the return trip. Both the wooden and the plastic crates have a return freight volume of around 40 percent for the full crate. The carton box is only a single trip package and has no return freight.
Ad 22. Only plastic crates can not be manufactured locally.
Ad 23. Baskets can not be stacked properly and are difficult to transport.
Ad 24. Carton boxes are meant for one single trip and do not have to be returned, whereas crates are not always returned to their owners.
CHECKLIST
CONTAINING
1 Suitable capacity for the range of fruits, vegetables and rootcrops
2 Easily handled by one person
3 Standard design
4 Palletization
PROTECTING
5 Stable when stacked
6 Consistent dimension, resist the pressure when stacked
7 Good ventilation
8 Protection during handling, transport and marketing
9 Smooth surface material, no sharp edges
10 Liners available
11 Easy to clean
12 Pilfer proof/closed with cover
COMMUNICATING
13 Easy to attach label
14 Advertisement/ Brandname on box
15 Presentation
16 Acceptable for customs control
COST-MISCELANEOUS
17 Reasonable purchase cost
18 Durable/Deterioration
19 Repairable
20 Consistent supply guaranteed
21 Low cargo volume when empty
22 Local manufacturing possible
23 Transport/fitting or, pick-up or handcart
24 Loss of crates
TOTAL 100% 100% N.A. N.A. N.A. N.A.