Home-immediately access 800+ free online publications. Download CD3WD (680 Megabytes) and distribute it to the 3rd World. CD3WD is a 3rd World Development private-sector initiative, mastered by Software Developer Alex Weir and hosted by GNUveau_Networks (From globally distributed organizations, to supercomputers, to a small home server, if it's Linux, we know it.)

Indice - Precedente - Siguiente


Productos de arcilla cocida

Generalidades

La técnica de la arcilla cocida en la producción de ladrillos y tejas para construcción tiene más de 4,000 anos. Se basa en el principio que los suelos arcillosos (que contienen de 20 a 50% de arcilla) experimentan reacciones irreversibles, cuando son quemados a 850-1000°C, con lo cual las partículas se unen unas a otras como un material cerámico vidrioso.

Para este proceso hay una gran variedad de suelos adecuados, siendo la propiedad esencial la plasticidad para facilitar el moldeado. Aunque esto depende del contenido de arcilla, las proporciones excesivas de arcilla pueden causar fuertes contracciones y agrietamientos, lo que es inadecuado en la fabricación de ladrillos. La calidad de los productos de arcilla cocida varía no sólo de acuerdo al tipo y cantidad de los otros componentes del suelo sino también con el tipo del mineral de la arcilla. Para producir tejas y ladrillos de buena calidad se necesitan realizar cuidadosos ensayos del suelo.

La producción de ladrillos cocidos ha alcanzado un alto nivel de mecanización y automatización en muchos países, pero los métodos tradicionales de producción en pequeña escala aún están bien extendidos en a mayoría de países en desarrollo. Así, hay una gran variedad de métodos mecanizados y no mecanizados para la extracción, preparación, moldeado, secado y cocido de la arcilla, que solo podrá tratarse brevemente en este manual.

Extracción de Arcilla

• Los depósitos de arcilla se encuentran al pie de colinas o en tierra agrícolas cercanas a ríos (lo cual naturalmente generan intereses conflictivos entre el empleo de la tierra para fabricación de ladrillos y para la agricultura).

• Los criterios para seleccionar una localización adecuada son la calidad de la arcilla, disponibilidad a nivel superficial y la cercanía de una carretera transitable para el transporte.

• La excavación manual en plantas de producción de pequeña y mediana escala generalmente se realiza a una profundidad menor de 2 m. (Después de excavar grandes áreas, estas pueden volver a emplearse para la agricultura.).

• Para plantas de fabricación de ladrillos en gran escala se necesitan métodos mecánicos que emplean dragalinas y excavadoras de cucharas de diferentes tipos. Estos métodos requieren proporcionalmente menos área de excavación, pero hacen cortes profundos en el paisaje.

Preparación de la Arcilla

• Esto incluye la selección, trituración, cernido y proporcionamiento, antes que el material sea mezclado, humedecido y atemperado.

• La selección se realiza recogiendo las raíces, piedras, pedazos de caliza, etc., o en algunos casos lavando el suelo.

• La trituración es necesaria pues la arcilla seca usualmente forma terrones duros En laboratorios es común machacarla manualmente. Sin embargo, se han desarrollado máquinas trituradoras simples intensivas en mano de obra (ver ANEXO).

• El cernido es necesario para retirar todas las partículas más grandes de 5 mm. para ladrillos, o de 0.6 mm. para tejas de techo.

• El proporcionamiento es requerido si la distribución granulométrica o el contenido de arcilla es insatisfactorio. En algunos casos se añade a la arcilla cascara de arroz que sirve como combustible, para obtener ladrillos más livianos y más uniformemente cocidos.

• Es necesario un mezclado completo y una correcta cantidad de agua. Ya que el mezclado manual (tradicionalmente pisoteando con pies descalzos) es laborioso y a menudo insatisfactorio, se prefieren mezcladores accionados con motor. El esfuerzo para el mezclado puede reducirse enormemente permitiendo que el agua se filtre a través de la estructura de arcilla por algunos días o incluso meses. Este proceso, conocido como «atemperamiento», permite que se realicen cambios químicos y físicos, mejorando las características para su moldeado. La arcilla debe mantenerse cubierta para evitar un secado prematuro.

Moldeado

• El moldeado se realiza a mano o con métodos mecanizados.

• Los métodos de moldeado manual emplean simples moldes de madera: La arcilla se amasa formando una bola, se tira en el molde y se corta el sobrante.

• Hay dos técnicas tradicionales para sacar el ladrillo del molde: a) el método del moldeado deslizante, en el cual el molde se mantiene húmedo y la arcilla es mezclada con más agua; y b) el método del moldeado con arena, en el cual la bola de arcilla se cubre con arena para evitar que se pegue al molde.

• Los ladrillos hechos con el método del moldeado deslizante son susceptibles de desplomarse y distorsionares, mientras que el método del moldeado con arena produce ladrillos más firmes y con mejor forma. Cuando no se dispone de arena, también puede emplearse tierra arcillosa fina de acuerdo a una técnica desarrollada en el ITW (Intermediate Technology Workshop en el Reino Unido).

• Con mesas del moldeado (como el desarrollado por ITW, Reino Unido, y el Central Building Research Institute, India) se obtienen ladrillos con formas más exactas, con menos esfuerzo y mayor producción. Cuando el moldeado se realiza igual que con los moldes de madera, los ladrillos son expulsados mediante una palanca accionada con el pie.

• Las tejas para techo se hacen con moldes de formas especiales pero casi de la misma manera que los ladrillos. La principal diferencia es que se necesitan otras características del material, en relación a la uniformidad, granulométria y contenido de arcilla.

• Los talleres de ladrillos mecanizados emplean máquinas que extruyen la arcilla por un troquel para formar una columna de arcilla, que es cortado con alambre en piezas del tamaño de un ladrillo. Este método produce ladrillos más densos y resistentes, que también pueden ser perforados.

• Una solución intermedia es el moldeado de tejas y ladrillos con compresión mecánica. Dos máquinas producidas en Bélgica (CERAMAN y TERSTARAM) fueron diseñadas especialmente para este propósito, pero también son empleadas para fabricar ladrillos de suelo estabilizado, secados al aire. La compresión mecánica permite contenidos de humedad considerablemente bajos, acortando así el periodo de secado.

A - Fabricación de ladrillos en Ghana

B - Fabricación de ladrillos en Ghana

C - Fabricación de ladrillos en Ghana

D - Fabricación de ladrillos en Ghana

Fabricación de ladrillos en Ghana: Preparación de las bolas, cortado de la arcilla sobrante, retirado de los ladrillos del molde para colocarlos en estantes para el secado, ladrillos cocidos listos (Fotos: H. Schreckenbach, Bibl. 00.49)

Secado

• Es probable que los ladrillos crudos se aplasten en el horno, bajo el peso de los que están encima; se pueden contraer y agrietarse durante el cocido; el agua expulsada puede condensarse en los ladrillos fríos, lejanos a la fuente de calor; o se puede generar vapores, creando presiones excesivas en los ladrillos; y, finalmente se necesita mucho combustible para eliminar el agua restante. Por ello, es vital un secado completo.

• El secado debe ser relativamente lento, esto es, la velocidad a la cual la humedad se evapora de la superficie no debe ser más rápida que la velocidad a la cual se puede expandir por los finos poros del ladrillo crudo Los ladrillos deberían estar rodeados por aire, por lo que deben ser apilados con suficientes espacios vacíos entre sí.

• El secado natural se hace a la intemperie bajo el sol, pero es aconsejable un recubrimiento protector (láminas plásticas, hojas o hierba) para evitar un secado rápido. Si es probable que llueva, el secado debe realizarse bajo techo. Aunque tradicionalmente, los ladrillos sólo se hacen en la estación seca.

• El secado artificial (empleado en las grandes plantas mecanizadas) se realiza en cámaras especiales que hacen uso del calor recuperado de los hornos o zonas de enfriamiento.

Horno típico en la India. el carbón de piedra triturado, que esta siendo cernido en la foto, es el combustible empleado. A la derecha hay ladrillos crudos apilados para ser secados. (Foto: K. Mukerji)

• La contracción debido al secado es inevitable y no causa serios problemas si es menor de 7% de contracción lineal. No se debe exceder de una contracción lineal de 10%. Si es necesario, debe reducirse la proporción de arcilla añadiendo arena o chomota (desechos de ladrillos pulverizados).

Cocción

• Hay dos tipos de hornos para cocer ladrillos: horno intermitente y continuo.

• Los hornos intermitentes incluyen mordazas y hornos «Scove» (hornos de campo tradicionales), hornos de tiro de aire superior y los de tiro de aire inferior. La eficiencia del combustible es muy baja, pero se adaptan a las cambiantes demandas del mercado. Varían en tamaño desde 10,000 a 100,000 ladrillos.

• Los hornos continuos incluyen varias versiones del horno Hoffmann (particularmente el horno de trinchera de Bull) y el horno de tiro de aire forzado. Son muy eficientes en el consumo del combustible. Los hornos túnel, en los cuales los ladrillos pasan a través de un fuego estacionario, son demasiados sofisticados y costosos para ser considerados aquí.

• Las mordazas básicamente son una pila de ladrillos crudos esparcidos con material combustible (por ejemplo, carbón de piedra triturado, cascaras de arroz, estiércol). En la base de la mordaza se dejan algunos orificios en donde se prende el fuego. Los orificios se cierran y se deja arder el combustible, lo cual puede tomar pocos días o varias semanas. Los ladrillos cerca al centro de la mordaza serán más duras. Es necesario seleccionarlos, ya que aproximadamente 20 o 30% serán inservibles. Estos son recocidos o empleados en la base, en los lados o en la parte superior de la mordaza.

• Los hornos scove, revocados en ambos lado con barro, básicamente son iguales que las mordazas, excepto que los túneles se construyen a través de la base de la pila para alimentar combustible adicional. Este es el mejor método para quemar madera.

• Los hornos con tiro de aire superior (también conocido como hornos Escocés) funciona igual que los scoves, excepto que los túneles y las paredes son permanentes.

• Los hornos con tiro de aire inferior tienen un techo abovedado permanente. Los gases calientes del combustible quemado en los lados del horno, se elevan hacia el techo arqueado y descienden entre los ladrillos por la succión de la chimenea, a través del piso perforado para salir por la chimenea.

• El horno Hoffmann, que originalmente era circular pero ahora más comúnmente es oval, es un horno multicámaras en el cual el aire de combustión es precalentado enfriando ladrillos en algunas cámaras, y pasa por la zona del fuego, desde la cual los gases de evacuación precalientan los ladrillos crudos. Mientras los ladrillos enfriados son retirados de un lado de la cámara vacía, los ladrillos crudos son apilados en el otro lado. El combustible es alimentado por la parte superior, a través de los orificios en el techo arqueado permanente. La producción diaria es de aproximadamente 10,000 ladrillos.

• El horno de trinchera de Bull funciona bajo el principio del horno Hoffmann, excepto que se omite el costoso techo abovedado y los gases de evacuación salen por chimeneas de metal intercambiables de 16 m. de alto con una amplia base, que se acoplan en los orificios de ventilación ubicados en la parte superior del horno. El combustible, generalmente carbón de piedra triturado es alimentado por los orificios de la parte superior. Dependiendo del tamaño del horno la producción diaria puede variar entre 10,000 y 23,000 ladrillos, siendo el 70% de ellos de alta calidad.

• El horno con tiro de aire forzado es una versión mejorada de horno de trinchera de Bull, en el que las paredes transversales temporales de ladrillos crudos dejan aberturas en los lados alternos, haciendo que el aire caliente viaje una gran distancia en zigzag, obteniendo una mayor transferencia de calor en una cantidad dada de combustible-cale-factor (madera y piedra de carbón). Para proporcionar el tiro de aire necesario se instalan ventiladores. Es posible una producción diaria de 30,000 ladrillos.

• La madera, el carbón y el petróleo son los principales tipos de combustible empleados. El carbón se emplea para cualquier propósito, mientras que la madera es poco adecuada en mordazas y el petróleo no se emplea en mordaza, en hornos con tipo de aire inferior, hornos de trinchera de Bull y hornos con tirado aire forzado.

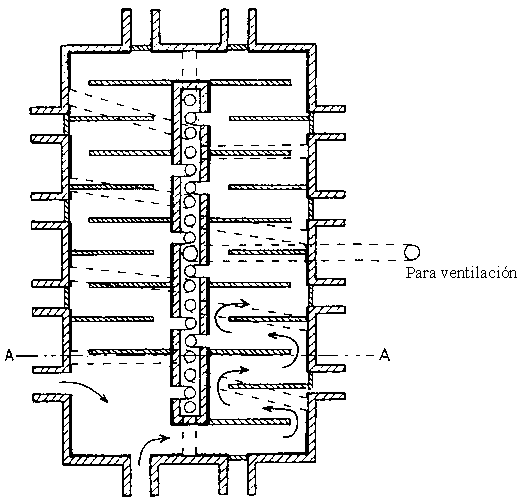
Mecanismo de Trabajo del Horno Continuo de Trinchera de Bull empleado en Pakistán e India (Bibl. 04.11)

Horno de tiro de aire forzado desarrollado por el Central Building Research Institute, India (Bibl. 04.04)

Sección A-A

Escalas de Producción en la Fabricación de Ladrillos (Bibl. 04.04)
Escala de Producción Número de Ladrilos por día (promedio) Ejemplos de procesos utilizados Apropiado para el área de mercado
Pequeña 1000 Hecho a mano, quemado en mordaza. Pueblos rurales
Mediana 10000 Prensa mecanizados, horno de trinchera de Bull Ciudades cercanas
Grande 100000 Completamente automático, cortado con alambre expulsado, horno de tunal. Areas industrializadas en gran demanda y buena infraestructura.
Requerimientos Comunes de Combustible para hornos (Bibl. 04.04)
Tipo de Horno Requerimiento de calor
(MJ/1000 Ladrillos)
Cantidad de Combustible requerido
(toneles/1000 Ladrillos)
Madera Carbón Aceite
Intermitente
Mordaza 7000 (0.44) 0.26 (0.16)
Scove 16000 1.00 0.59 0.36
Scotch 16000 1.00 0.59 0.36
Corriente Aire hacia abajo 15500 0.97 0.57 (0.35)
Contínuo
Hoffmann Original 2000 0.13 0.07 0.05
Hoffmann Moderno 5000 0.31 0.19 0.11
Trichera de Bull 4500 0.28 0.17 (0.10)
Habla (corr. fuerte) 3000 0.19 0.11 (0.07)
Tunnel 4000 (0.25) (0.15) 0.09
Nota: Las cifras que están entre paréntesis indican que el combustible no es adecuado para este horno.

Aplicaciones

• Los ladrillos sólidos o perforados de todas las formas y tamaños para construcciones normales de mampostería, incluyendo cimientos, pisos y muros, arcos, bóvedas y cúpulas.

• Tejas para techo de variadas formas y tamaño para techos con pendiente entre un rango de 1:3 (18°30') y 1:1 (45°).

• Tejas para piso y ladrillos de fachadas para acabados de superficies durables e impermeables, y para mejorar la apariencia.

• Productos especiales, tales como ladrillos industriales que tienen alta resistencia a compresión y densidad; ladrillos refractarios, con gran resistencia al calor, empleados para forrar calderas y hornos; ladrillos y tejas resistentes a los ácidos para soportar los ataques químicos; y piezas de canales y tuberías para diversos propósitos.

• Bloques de arcilla perforados, con formas especiales para conformar losas compuestas de concreto armado (para entrepisos y techos).

• Los residuos de ladrillos pueden emplearse para construir paredes de hornos, como rellenos de huecos de muros y pisos, como árido para el concreto, o, cuando es muy fino, los residuos poco cocidos producen una puzolana (surkhi) y otros producen chomotas para la fabricación de ladrillos.

Ventajas

• Los productos de arcilla cocida pueden tener altas resistencias a compresión, incluso cuando están húmedos, y por tanto son resistentes a los impactos y a la erosión.

• La porosidad de la arcilla quemada permite movimientos de humedad, sin producir cambios dimensionales significativos. Las construcciones de tejas y ladrillos pueden «respirar».

• Los ladrillos sólidos tienen una alta capacidad térmica, necesaria para la mayoría de los climas, excepto para las zonas predominantemente húmedas; los ladrillos perforados (con perforaciones verticales) pueden emplearse para muros con cavidad, que proporcionan aislamiento térmico, o (con perforaciones perpendiculares a la cara del muro) para muros con ventilación o rejilla.

• Los productos de arcilla cocida proporcionan una excelente resistencia al fuego.

• Los ladrillos y tejas son resistentes a los agentes atmosféricos y pueden permanecer sin ninguna protección superficial, con lo cual se ahorran costos. Sin embargo, las obras de ladrillos expuestos a menudo son considerados sin acabado y, por lo tanto, no siempre son aceptados.

• Los ladrillos rotos y de mala calidad son usados para otros propósitos, por lo tanto no se desperdician.

• El proceso de producción puede ser extremadamente intensivo en mano de obra y crear muchos puestos de trabajo incluso para trabajadores no capacitados.

Problemas

• El proceso de cocción tiene un consumo de combustible relativamente alto. En muchos países, en donde se emplea leña, grandes áreas forestales han desaparecido causando un serio daño ecológico. Aún en donde hay leña disponible, ésta es generalmente muy cara, pero ello también es cierto para los otros combustibles. Por consiguiente, los productos de arcilla cocida de buena calidad tienden a ser caros.

• Los hornos de campo simple no siempre producen ladrillos uniformes y de buena calidad, y generalmente funcionan con ineficiencia en cuanto al combustible. Las inversiones de capital en hornos eficientes en cuanto al consumo de combustible son altos, los cuales producen buenos ladrillos a menudo son demasiado caros para los pequeños productores. Tampoco se justifica si no hay una demanda grande y continua de ladrillos.

• Un defecto común de los ladrillos es «el caliche» (o «la expansión de la cal»), esto es, un debilitamiento o rotura de los ladrillos, que es causado por la hidratación de las partículas de cal viva, producidas por la caliza que esta presente en las arcillas con la que se fabricó los ladrillos.

• Otro defecto es la «eflorescencia», que aparece temporalmente sobre la superficie del ladrillo, y es causada por las sales solubles inherentes en la arcilla o el agua del proceso.

Soluciones

• La eficiencia en el consumo del combustible depende principalmente del diseño del horno: los hornos continuos retienen por más tiempo el calor y utilizan el calor de los ladrillos calientes, mientras los ladrillos crudos son precalentados por los gases de evacuación. Los hornos intermitentes tienen que calentar todo el lote nuevamente, cada vez que se cuece cada lote.

• La leña no debe emplearse más rápido de lo que puede renovarse. Por ello son vitales las plantaciones de árboles de rápido crecimiento. Considerando su menor valor calorífico, se necesita una mayor cantidad de árboles de rápido crecimiento que de árboles de lento crecimiento. Sin embargo, tales plantaciones pueden ser difíciles de mantener en regiones secas o cuando las lluvias fallan.

• Los residuos de la agricultura y otras biomasas, tales como cascaras de arroz, cascaras de café, papiro, son combustibles sustitutos útiles y (parcialmente) baratos. Mezclándolos con la arcilla ayudan a cocer uniformemente los ladrillos, evitando que los centros no estén cocidos.

• Los hornos de trinchera de Bull y de corriente de aire forzado tienen una eficiencia en el consumo de combustible comparable a los hornos mecanizados, sofisticados. También son más baratos de construir que el horno Hoffmann. Por ello, se considera mejor el emplear el primer lote de ladrillo de una mordaza para construir un horno más eficiente en cuanto al consumo de combustible, con lo cuál, el tamaño se ajustará para satisfacer las demandas del mercado local. No obstante, para proporcionar la corriente de aire requerida se necesita un tamaño mínimo determinado.

• El caliche puede minimizarse reduciendo el tamaño de las partículas de la mezcla de materia prima y cociendo a 1000°C. Añadir de 0.5 a 0.75% de sal común (cloruro de sodio) antes del cocido también se ha probado que es efectivo. Después del cocido los ladrillos pueden ser sumergidos en agua durante diez minutos, durante los cuales la cal es apagada. El proceso, llamado «rebajo», no siempre es exitoso.

• Las mejoras son posibles y necesarias en todas las fases de la fabricación de ladrillos, de modo que una buena dedicación a la investigación es requerida para encontrar métodos simples y baratos para una adecuada preparación de la arcilla, un moldeado uniforme y rápido, y lo más importante una máxima eficiencia en el consumo de combustible.

 

Aglomerantes

Generalidades

Los aglomerantes son sustancias empleadas para adherir partículas y fibras orgánicas e inorgánicas para formar componentes resistentes, duros y/o flexibles. Esto es debido generalmente a las reacciones químicas que ocurren cuando el aglomerante es calentado, mezclado con agua y/u otros materiales, o simplemente expuesto al aire.

Hay cuatro grupos principales de aglomerantes:

Aglomerantes Minerales

Estos se dividen en tres categorías:

Aglomerantes Hidráulicos

• El aglomerante hidráulico más común es el cemento (ver la sección titulada Cemento).

• Las cales hidráulicas y semihidráulicas (ver sección Cal) se obtienen al cocer la piedra caliza, que contiene una cantidad grande o moderada de arcilla. Esto puede entenderse fácilmente, ya que la piedra caliza y la arcilla son las principales materias primas para la producción de cemento.

• Las Puzolanas (ver sección Puzolanas), cuando son mezcladas con cal no hidráulica forman un cemento hidráulico.

• Los aglomerantes hidráulicos generalmente están disponibles en forma de polvo fino: mientras más finos son pulverizados (usualmente en un molino), más grande es el área de superficie específica (de la suma de las partículas) por unidad de peso. Y mientras más es el área de superficie, más efectiva y completa es la reacción química con el agua al hacer contacto.

• A causa de su afinidad al agua, los aglomerantes hidráulicos deben ser almacenados en condiciones absolutamente secas, para evitar un fraguado y endurecido prematuro. Incluso el aire húmedo puede causar hidratación.

Aglomerantes No Hidráulicos

• El aglomerante no hidráulico más común es la arcilla, que esta presente en la mayoría de tierras, causando que se endurezcan al ser secadas y se ablande cuando son humedecidas. Sus principales aplicaciones son en construcciones de tierra y en la fabricación de productos de arcilla cocida.

• Otro aglomerante no hidráulico común es la cal con alto contenido de calcio o magnesio (ver sección Cal). El endurecimiento depende de su combinación con el dióxido de carbono del aire (carbonación), por el cual éste nuevamente se vuelve carbonato de calcio (piedra caliza). Pero las cales raramente son empleadas como el único aglomerante cementoso, y usualmente reaccionan con la arcilla o alguna puzolana para formar un cemento hidráulico.

• El yeso es un aglomerante no hidráulico que se encuentra naturalmente como una arena o roca suave cristalina. El nombre químico es sulfato de calcio dihidrato (CaSO42H2O). Mediante un calentamiento aproximadamente a 160°C, se produce sulfato de calcio semi-hidrato (CaSO41/2H2O), más conocido como «mortero de París», el cual cuando es mezclado con el apara se fragua en 8 a 10 minutos. El yeso ha sido producido exitosamente mediante energía solar Un mayor calentamiento del yeso, ligeramente superior a los 200°C (no obtenido mediante energía solar) produce yeso anhidro (CaSO4), el cual cuando es mezclado con agua se fragua muy lentamente.

• El yeso también se encuentra disponible en abundancia como un sub-producto industrial, de la evaporación del agua de mar al producir sal común, o de la fabricación de fertilizante obtenido de la roca fosfato. A este último se le llama fosfoyeso, el cual contiene más agua que el yeso natural, es más ácido y tiene más impurezas, por lo que se requiere un procesamiento costoso. También es algo radioactivo y por ello no es recomendable en edificaciones.

• El yeso es empleado como un material de construcción, principalmente como un retardador para regular el fraguado de diversos tipos de cemento hidráulico, y junto con una variedad de otros materiales (por ejemplo, cal, arena, aserrín, cáñamo, sisal, aceite de linaza, papel) para producir enlucidos, tableros y bloques de mampostería.

• Las principales ventajas del yeso son el poco consumo de energía durante el cocido para producir mortero de yeso; el rápido secado y endurecido, con despreciable contracción; la buena adhesión a las fibras y otros materiales; buena resistencia al fuego; buena reflexión del sonido (si es denso y duro); buen acabado de la superficie; resistente a los insectos y roedores.

Calcinación de Yeso con energía solar (Foto: N. Nolhier)

• La principal desventaja del mortero de yeso es su solubilidad en el agua (2 g. de yeso por litro de agua). El aire húmedo también puede ablandar el mortero de yeso. Las heladas y los cambios repentinos de temperatura también puede causarle daño.

• A causa de esta desventaja, el yeso no debería emplearse en superficies externas en zonas climáticas húmedas, a menos que esté bien protegido mediante techos con amplios aleros y un revestimiento impermeable (por ejemplo, aceite de linaza caliente).

Aglomerantes Termoplásticos

• Los materiales termoplásticos necesitan calor para ser procesados y se endurecen al enfriarse. Sus propiedades permanecen intactas al recalentar y enfriar, de modo que pueden ser reciclados y reprocesadas numerosas veces.

• Probablemente el único aglomerante mineral termoplástico empleado en construcciones es el azufre. Para mayores detalles ver la sección titulada Azufre.

Aglomerantes Bituminosos

Los betunes son mezclas mecánicas de diferentes hidrocarbonos (compuestos de carbón e hidrógeno) y algunas otras sustancias, y son obtenidos como residuos en la destilación del petróleo crudo, ya sea en refinerías de petróleo o en la naturaleza (en poros de roca o en la forma de lagos, cercanos a los depósitos de petróleo). Los betunes generalmente son sustancias termoplásticas fluorescentes, aceitosas, negro oscuras, que son altamente viscosas a casi sólidas a temperaturas normales. A los compuestos que constan de 40% como mínimo de hidrocarbonos pesados se les llama betunes.

Los asfaltos son definidos como mezclas que contienen betunes y una proporción sustancial de materia mineral inerte (arena, grava, etc.). En los EE.UU., al betún se le llama asfalto, lo cual causa cierta confusión.

El alquitrán es la sustancia negra espesa producido en la destilación destructiva (carbonización) de materia orgánica, tal como la madera o el carbón de piedra.

• La brea es el residuo obtenido luego de destilar el alquitrán proveniente del carbón de piedra.

• El betún no se afecta por la luz, el aire o el agua en forma individual, pero ellos en combinación pueden volverlo frágil, poroso y susceptible a la oxidación, formando ampollas y grietas. Se vuelve blando a temperaturas entre 30°C y 100°C (no hay un punto de fusión), y por lo tanto debe ser protegido de la exposición al calor. Es insoluble en el agua y bastante resistente a la mayoría de los ácidos. Aunque el betún es combustible, sus compuestos, tales como la masilla asfáltica, no son de fácil combustión. Los productos de betún y de alquitrán de carbón de piedra pueden ser venenosos, por ello debe evitarse el contacto con el agua potable.

• Los productos bituminosos pueden emplearse como materiales impermeables (en la estabilización del suelo, como pinturas, membranas impermeabilizante, filtro para techos, rellenos de juntas, etc.), como materiales para pavimento carreteras y pisos) y como adhesivos (para pisos de bloques de madera, fieltros y recubrimientos aislantes).

• Cuando se emplea el betún, éste debe ser calentado; o mezclado con solventes (por ejemplo, gasolina, kerosene o nafta), al cual se le llama «betún diluido»; o disuelto en agua, al cual se le llama «emulsión de betún».

Aglomerantes Naturales

• De las plantas y animales se obtiene una variedad de aglomerante que pueden ser empleados en su forma natural o bajo procesamiento.

• Ejemplos de aglomerantes naturales son jugos de planta (ejem. jugo de hoja de plátano, látex de ciertos árboles, jugo de sisal, aceites de linaza, coco y algodón), excremento de animal (ejem. estiércol; orina de caballo) y otros productos de animales (ejem. sangre de buey, pegamento (cola) animal de cuernos, huesos, abdomen, pellejo; caseína o suero, de la leche).

• Los aglomerantes naturales han jugado un importante rol en las construcciones tradicionales desde tiempos prehistóricos, pero hoy en día enfrentan una baja aceptación social. Sin embargo, la investigación actual esta incrementando la importancia de dichos materiales, especialmente con una visión de reducción de costos y aceptabilidad ambiental.

Aglomerantes Sintéticos

• Estos aglomerantes generalmente son producidos mediante procesos industriales y, por lo tanto, a menudo son caros. Algunos aglomerantes sintéticos son tóxicos.

• Pueden ser empleados como aditivos, como adhesivos o como revestimientos para superficies y pueden ser aplicados en calientes, o como una emulsión, o como un solvente.

• Los aditivos sintéticos que unen las partículas sueltas principalmente son resinas derivados de materiales vegetales o aceites minerales. La variedad de productos comerciales es muy grande y su empleo depende del comportamiento requerido (resistencia, impermeabilidad, elasticidad, etc.).

• Los adhesivos son empleados para pegar partículas más grandes, componentes, membranas, láminas, tableros, tejas, etc. sobre otras superficie. Algunos adhesivos son diseñados específicamente para un objetivo, mientras otros pueden ser empleados para varias aplicaciones. Los adhesivos pueden tener uno o dos componentes. Algunos adhesivos son termoplásticos y mantienen sus propiedades cuando son recalentados y enfriados.

• Los revestimientos de superficie pueden emplearse como una lámina protectora, como decoración o incluso para unir superficies. Aquí también la variedad de productos es muy grande como para ser tratada en este libro.


Indice - Precedente - Siguiente